Einstellungen Computer

Jonsered CS2152 - Chainsaw (2007-08) CYLINDER PISTON Ersatzteile

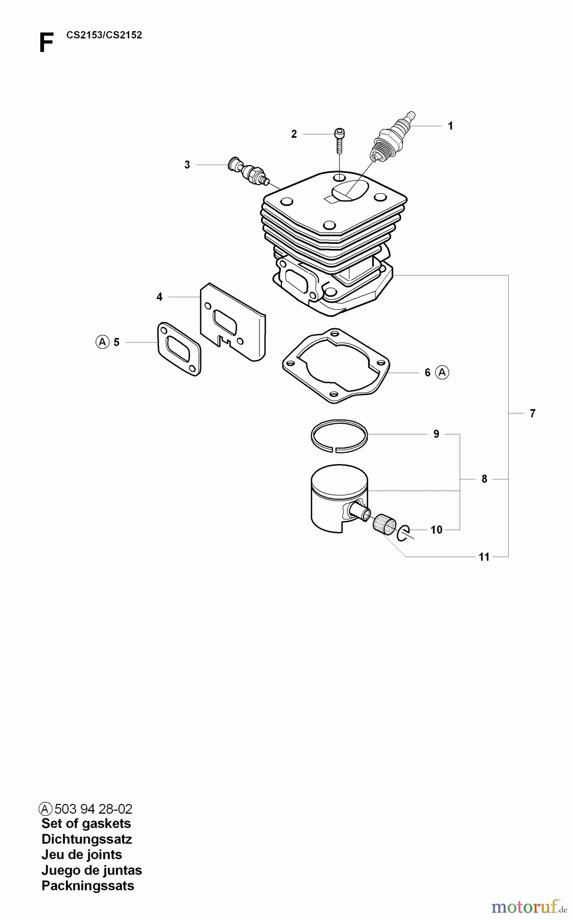
CYLINDER PISTON CS2152 - Jonsered Chainsaw (2007-08)

 Jonsered Motorsägen CS2152 - Jonsered Chainsaw (2007-08) CYLINDER PISTON

Hier finden Sie die Ersatzteilzeichnung für Jonsered Motorsägen CS2152 - Jonsered Chainsaw (2007-08) CYLINDER PISTON. Wählen Sie das benötigte Ersatzteil aus der Ersatzteilliste Ihres Jonsered Gerätes aus und bestellen Sie einfach online. Viele Jonsered Ersatzteile halten wir ständig in unserem Lager für Sie bereit.

Rasen
Bankeinzug, MasterCard, Visa, American Express, PayPal, Nachnahme, Vorauskasse, Sofortüberweisung
Datenschutzerklärung Impressum
Qualitätsmanagement
Informieren Sie uns, wenn Sie einen Fehler gefunden haben.