Jonsered FR2218 A 4X4 (966978601) - Rear-Engine Riding Mower (2009-02) HOOD Ersatzteile
HOOD FR2218 A 4X4 (966978601) - Jonsered Rear-Engine Riding Mower (2009-02)

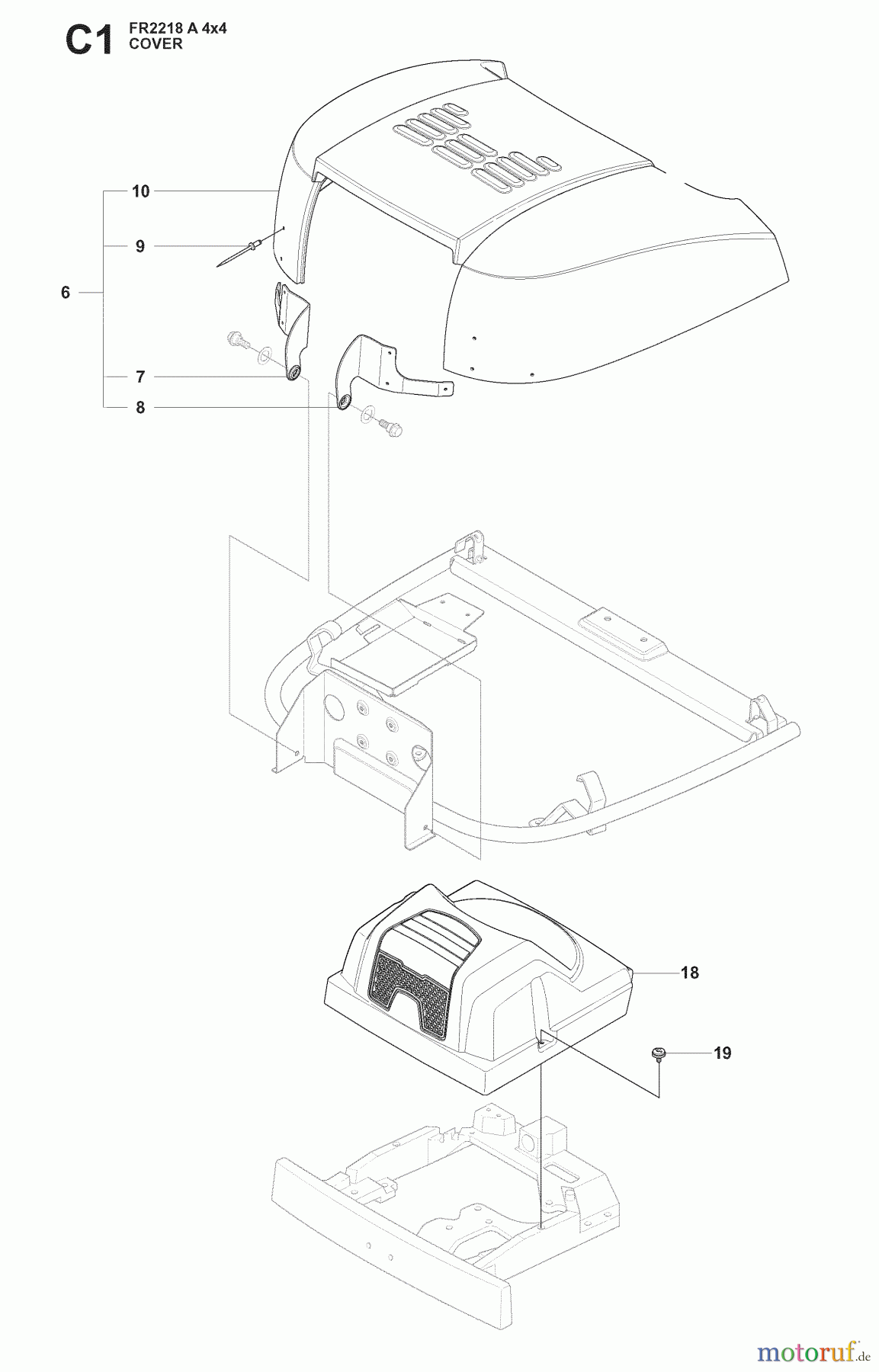
Hier finden Sie die Ersatzteilzeichnung für Jonsered Reitermäher FR2218 A 4X4 (966978601) - Jonsered Rear-Engine Riding Mower (2009-02) HOOD. Wählen Sie das benötigte Ersatzteil aus der Ersatzteilliste Ihres Jonsered Gerätes aus und bestellen Sie einfach online. Viele Jonsered Ersatzteile halten wir ständig in unserem Lager für Sie bereit.
| BildNr | Artikel Nummer | Bezeichnung | |
| 6 | 535 41 90-02 | HAUBE KPL. | |
| 7 | 535 41 99-01 | BEFESTIGUNG | |
| 8 | 535 41 99-02 | BEFESTIGUNG | |
| 9 | 722 79 54-02 | NIETE | |
| 10 | 535 41 79-02 | MOTORK.KPL. | |
| 11 | 506 59 95-01 | KNOPF | |
| 12 | 506 59 96-01 | STÜTZBAND | |
| 18 | 544 37 39-02 | GEHÄUSE | |
| 19 | ![]() | 544 40 05-01 | GEWINDESTIFT |


Qualitätsmanagement
Informieren Sie uns, wenn Sie einen Fehler gefunden haben.


