Jonsered FR2216 MA 4x4 (965190401) - Rear-Engine Riding Mower (2008-01) COVER #2 Ersatzteile
COVER #2 FR2216 MA 4x4 (965190401) - Jonsered Rear-Engine Riding Mower (2008-01)

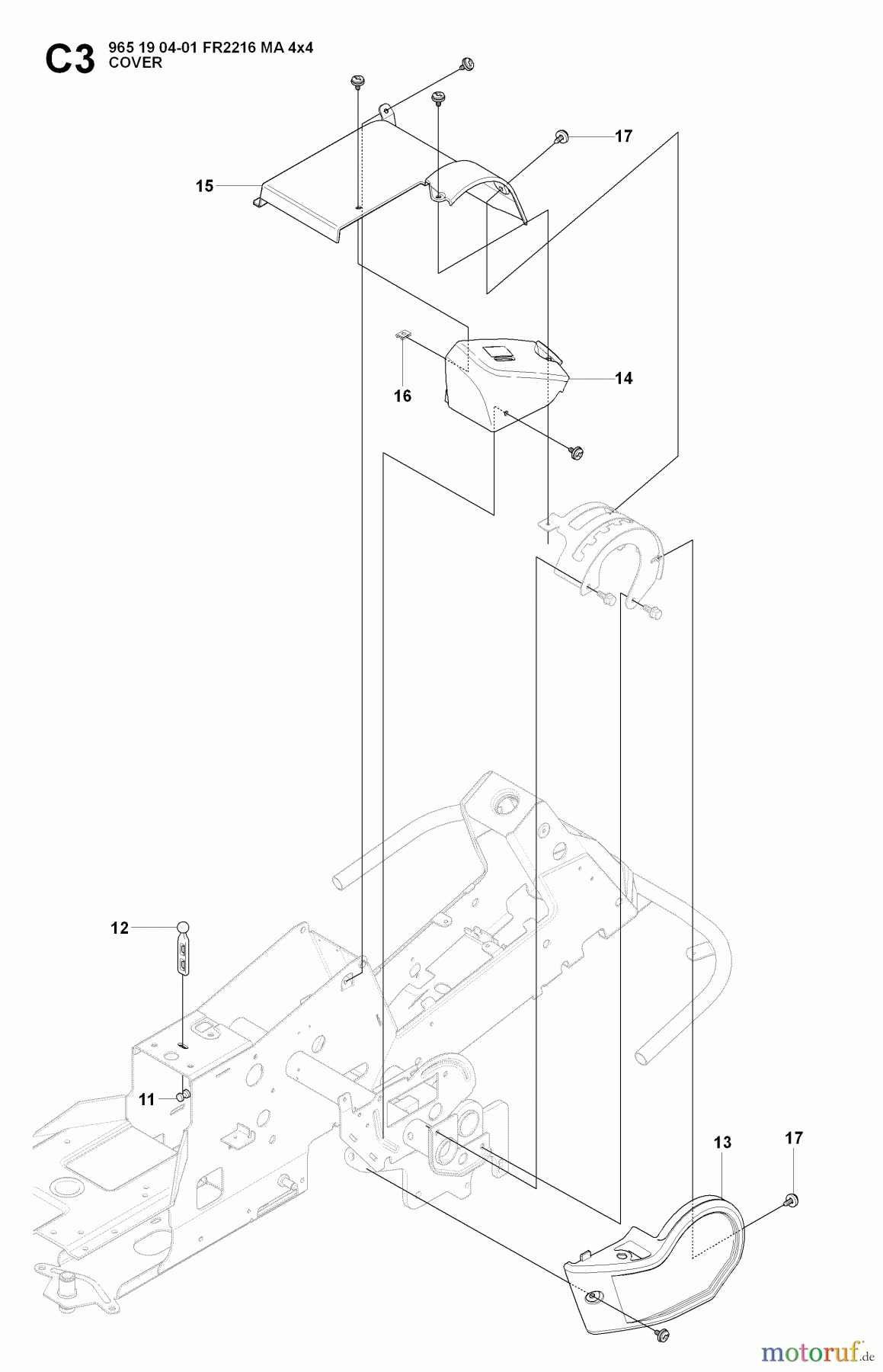
Hier finden Sie die Ersatzteilzeichnung für Jonsered Reitermäher FR2216 MA 4x4 (965190401) - Jonsered Rear-Engine Riding Mower (2008-01) COVER #2. Wählen Sie das benötigte Ersatzteil aus der Ersatzteilliste Ihres Jonsered Gerätes aus und bestellen Sie einfach online. Viele Jonsered Ersatzteile halten wir ständig in unserem Lager für Sie bereit.
| BildNr | Artikel Nummer | Bezeichnung | |
| 13 | 504 05 95-01 | DECKEL | |
| 14 | 504 05 97-02 | DECKEL | |
| 15 | 504 05 98-02 | ABDECKUNG | |
| 16 | 535 42 91-01 | KONTERMUTTER M6 | |
| 17 | ![]() | 544 40 05-01 | GEWINDESTIFT |



