Jonsered FR2216 FA2 (966415101) - Rear-Engine Riding Mower (2010-03) COVER #2 Ersatzteile
COVER #2 FR2216 FA2 (966415101) - Jonsered Rear-Engine Riding Mower (2010-03)

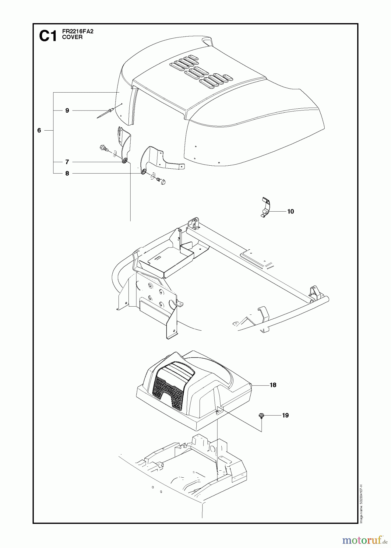
Hier finden Sie die Ersatzteilzeichnung für Jonsered Reitermäher FR2216 FA2 (966415101) - Jonsered Rear-Engine Riding Mower (2010-03) COVER #2. Wählen Sie das benötigte Ersatzteil aus der Ersatzteilliste Ihres Jonsered Gerätes aus und bestellen Sie einfach online. Viele Jonsered Ersatzteile halten wir ständig in unserem Lager für Sie bereit.
Häufig benötigte Jonsered FR2216 FA2 (966415101) - Rear-Engine Riding Mower (2010-03) COVER #2 Ersatzteile
| BildNr | Artikel Nummer | Bezeichnung | |
| 6 | 504059201 | ||
| 7 | 544 07 45-01 | SCHARNIER LINKS | |
| 8 | 544 07 45-02 | SCHARNIER RECHTS | |
| 9 | 722 79 54-02 | NIETE | |
| 10 | ![]() | 503 89 47-02 | KLAMMER |
| 18 | 544 37 39-02 | GEHÄUSE | |
| 19 | ![]() | 544 40 05-01 | GEWINDESTIFT |


Qualitätsmanagement
Informieren Sie uns, wenn Sie einen Fehler gefunden haben.




