Einkaufswagen
Mein Konto

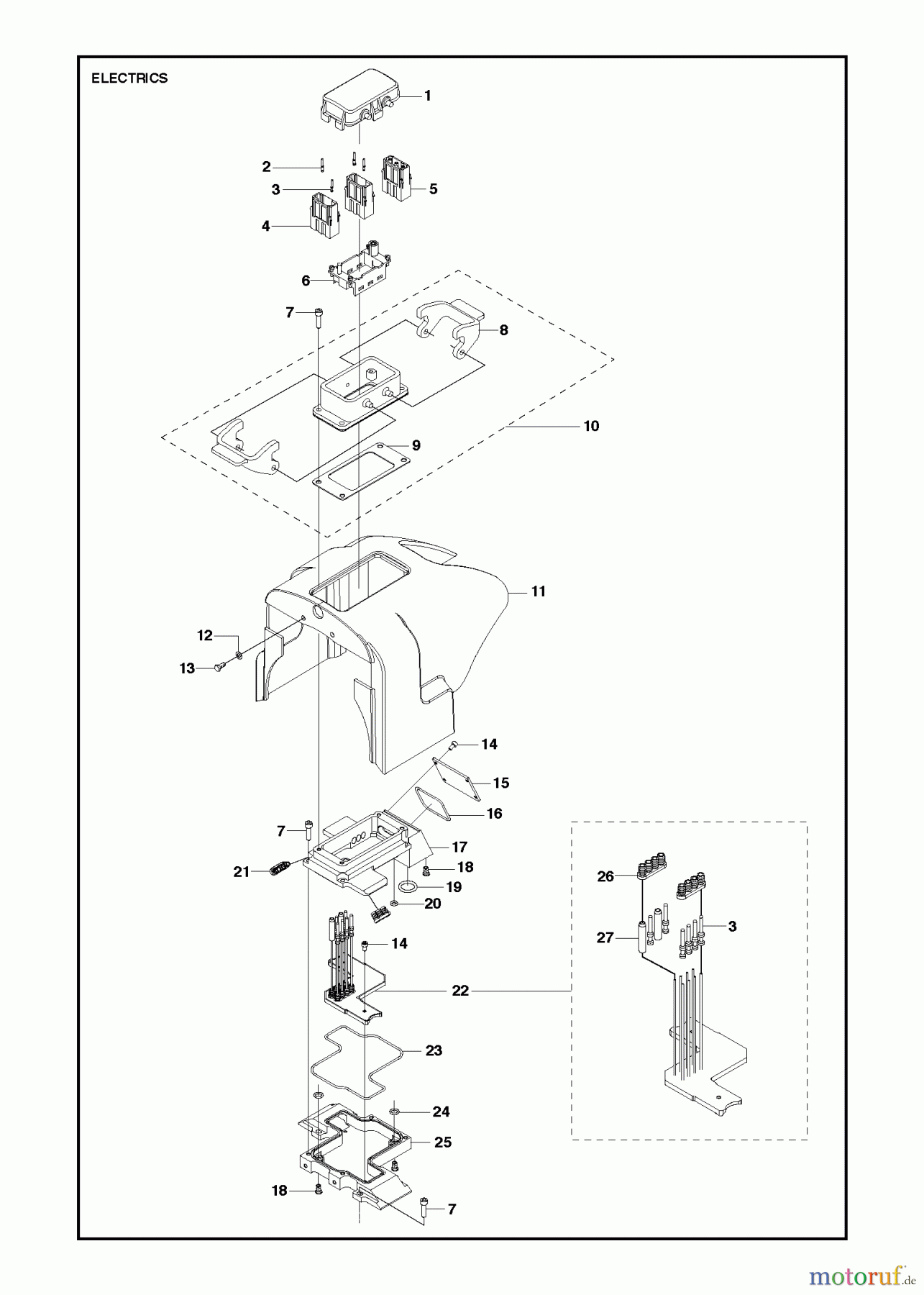
Wand und Kabelsägen ELECTRICAL Ersatzteile

ELECTRICAL WS440 HF, Valid from 20134408469, 2013-11

 Wand und Kabelsägen WS440 HF, Valid from 20134408469, 2013-11 ELECTRICAL

Hier finden Sie die Ersatzteilzeichnung für Wand und Kabelsägen WS440 HF, Valid from 20134408469, 2013-11 ELECTRICAL. Wählen Sie das benötigte Ersatzteil aus der Ersatzteilliste Ihres Wand und Kabelsägen Gerätes aus und bestellen Sie einfach online. Viele Wand und Kabelsägen Ersatzteile halten wir ständig in unserem Lager für Sie bereit.

Rasen
Bankeinzug, MasterCard, Visa, American Express, PayPal, Nachnahme, Vorauskasse, Sofortüberweisung