Trennschneider, Cut-Off GEAR HOUSING Ersatzteile
GEAR HOUSING K3000 Electric, 2007-01

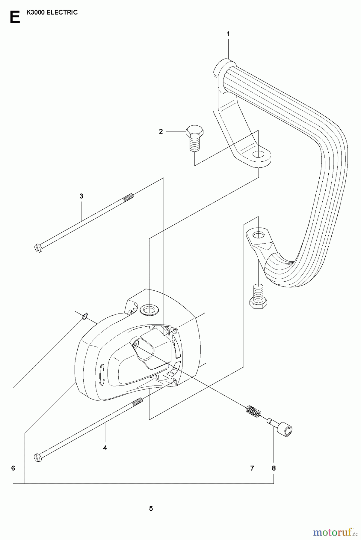
Hier finden Sie die Ersatzteilzeichnung für Trennschneider, Cut-Off K3000 Electric, 2007-01 GEAR HOUSING. Wählen Sie das benötigte Ersatzteil aus der Ersatzteilliste Ihres Trennschneider, Cut-Off Gerätes aus und bestellen Sie einfach online. Viele Trennschneider, Cut-Off Ersatzteile halten wir ständig in unserem Lager für Sie bereit.
| BildNr | Artikel Nummer | Bezeichnung | |
| 1 | 506 15 03-03 | GRIFFTEIL | |
| 2 | 531 03 12-76 | SCHRAUBE | |
| 3 | 505 53 03-11 | SCHRAUBE | |
| 4 | 531 03 18-94 | SCHRAUBE | |
| 5 | 544 40 34-01 | GETRIEBEGAHAEUSE | |
| 6 | 735 31 08-00 | Sägering | |
| 7 | 531 03 18-23 | FEDER | |
| 8 | 544 90 47-01 | ACHSE | |


Qualitätsmanagement
Informieren Sie uns, wenn Sie einen Fehler gefunden haben.

