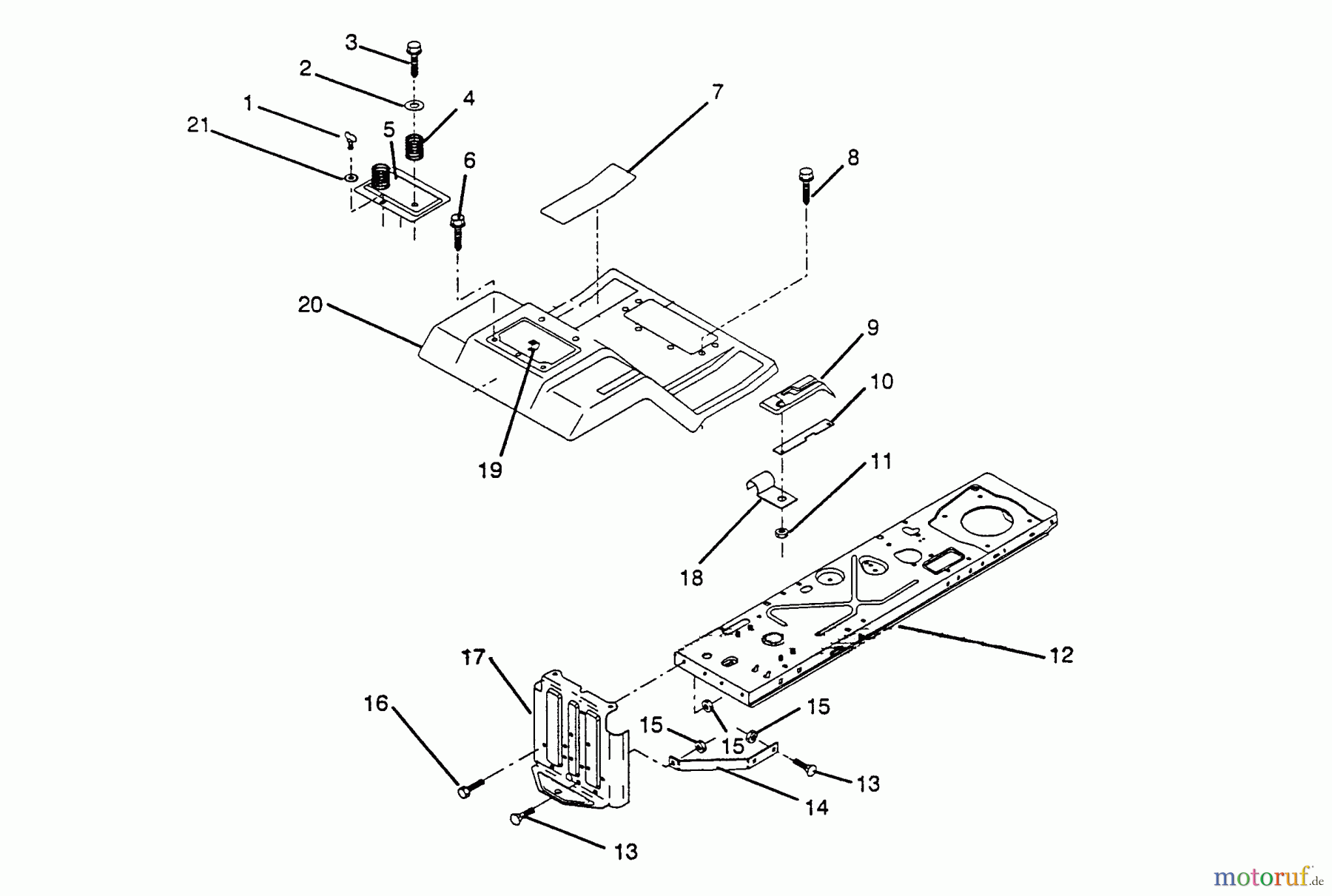
Husqvarna LT 92012 (954000251) - Lawn Tractor (1993-01 & After) Fender / Chassis Ersatzteile
Fender / Chassis LT 92012 (954000251) - Husqvarna Lawn Tractor (1993-01 & After)

Hier finden Sie die Ersatzteilzeichnung für Husqvarna Rasen und Garten Traktoren LT 92012 (954000251) - Husqvarna Lawn Tractor (1993-01 & After) Fender / Chassis. Wählen Sie das benötigte Ersatzteil aus der Ersatzteilliste Ihres Husqvarna Gerätes aus und bestellen Sie einfach online. Viele Husqvarna Ersatzteile halten wir ständig in unserem Lager für Sie bereit.





