Zurück zu
>
Roth / TORO
>
Handgeräte
>
Schneefräsen
>
zweistufig
>
724
>
637/38073
>
3900001
>
Vergaser Nr. 632371A
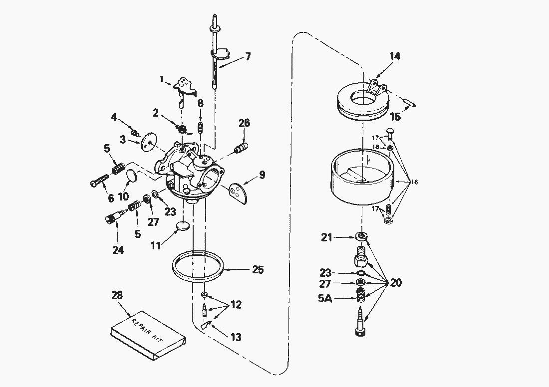
Ersatzteillisten für Toro Roth / TORO Vergaser Nr. 632371A
Pos.
Bezeichnung
Ersatzteilnummer
Screw Adjustment Assembly (Incl. Ref.
31839à
Drain Plunger Assembly (Incl. Ref.
27136A
Inlet Needle-Seat & Clip (Incl. Ref.
631021à
Carburetor (Incl.ref.
632371A
Pos.
Bezeichnung
Ersatzteilnummer
1
Drosselklappenachse
31834
2
Feder
631767
3
Shutter, Throttle
631036
4
Schraube
650506
5
Feder
630766
5
Spring, Adjustment Screw
630738
6
Schraube
650417
7
Chokerwelle
632373
8
Druckfeder
630735
9
Drosselklappe
632372
10
Plug-Welch
630748à
11
Plug-Welch
631027à
13
Klemmfeder
631022
14
Schwimmer
632019
15
Shaft-Float
631024à
16
Schwimmergehaeuse
631951
18
Dichtung
27554
21
Dichtung
27110
23
O Ring
630740à
24
Screw-Idle
631838à
25
Gasket-Bowl-to-Body
631028à
26
Anschlussstueck
632164
27
Scheibe
630739
28
Reparatursatz
31840
Gebrauchsanweisungen
Toro
Roth / TORO
Aufsitzmäher
Handgeräte
Kehrmaschinen
Schneefräsen
Zubehör
zweistufig
1332 PowerShift
1232 PowerShift
1132 PowerShift
1132
1028 PowerShift
924 PowerShift
828 PowerShift
824 PowerShift
824 XL
824
724
637/38073
9900001
8900001
7900001
6900001
5900001
4900001
3900001
Vergaser Nr. 632371A
Elektrostarter Motor Nr. 38-7590
Rücklaufstarter Nr. 590646
Motor Tecumseh (Modell HSK70-130282R) (Fortsetzung)
Motor Tecumseh (Modell HSK70-130282R)
Holm (Fortsetzung)
Holm
Motor
Antrieb (Fortsetzung)
Antrieb
Trommel (Fortsetzung)
Trommel
624 PowerShift
622
521
3521
einstufig
Sauger/Bläser
Rasenmäher
Robin
Impressum
(C) by motoruf