Zurück zu
>
Roth / TORO
>
Aufsitzmäher
>
Traktor
>
264-6
>
501/72062
>
5900228
>
Rahmen
Ersatzteillisten für Toro Roth / TORO Rahmen
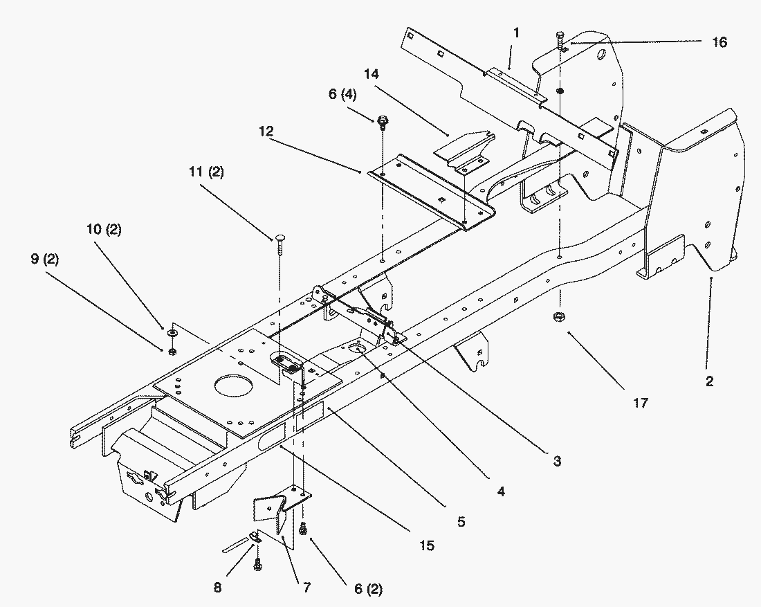
Pos.
Bezeichnung
Ersatzteilnummer
1
Support-Fender
92-6674-03
2
Frame W.a.
93-0522
3
Kabelband
614249
4
Lenkungshalterung
92-6992-03
5
Decal-Belt Install (Only On: 72042, 72043, 72083)
79-6730
5
Klebeschild
93-7324
6
Schraube
32144-14
7
Anschlag
78-2491-03
8
Klemme
8830
9
MUTTER
3296-29
10
Scheibe
3256-23
11
Schraube
3230-2
12
Bracket-ldler
92-6868-03
14
Bracket-HOC
92-6964-03
15
Schraube
322-5
15
Decal-Attach-A-Matic
92-8747
16
Schraube
322-5
17
MUTTER
3296-29
Gebrauchsanweisungen
Toro
Roth / TORO
Aufsitzmäher
Traktor
264-6
501/72062
4900001
5900001
5900228
Haube mit Grill
Armaturenbrett
Lenkrad mit Verstellung
untere Lenkung
Vorderachse
Sitz
Kraftstofftank & Hydrauliktank
Kotflügel & Fußauflage
Haubenhalter & Hitzeschutz
Aushubhebel & Schnitthöhe
Rahmen
Hydraulik Antrieb
Gear Antrieb
Zweizylinder Motor, Auspuff, und Zapfwelle
Einzylinder Motor, Auspuff, und Zapfwelle
Kupplung 92-6885
Batterie
Hydraulikbremse
Hydraulikbetätigung
Hydraulik-Getriebeachse
Tempomat Betätigung
Getriebeachse
Getriebe-Schaltgestänge
Kupplung & Bremsgetriebe
Hinterrad
Kurbelwelle
Kurbelgehäuse
Ölwanne, Schmierung
Zylinderkopf, Ventil, Entlüftung
Zündung, Elektrik
Gebläsegehäuse & Leitbleche
Starteinrichtung
Kraftstoffsystem
Motor Betätigungen
Lufteinlaß/Filter
Auspuff
Kopf, Ventil, Entlüftung
Getriebeachse Peerless 820-024
Getriebeachs-Gehäuse
Mittleres Gehäuse
Pumpenwelle
Motorwelle
Wählhebel
Bypass
Dämpfer
Neutralzentrierung
Bremssicherung
Differentialgetriebe
Ritzel
Getriebewelle
Bremse
6900001
246 HE
244-5
212-H
212-5
17-44 HXLE
16-44 HXL
16-38 HXL
16-38 XLE
15-44 HXL
15-38 HXL
14-38 HXL
14-38 XL
13-38 HXL
13-38 XL
13-32 XLE
12-38 HXL
12-38 XL
12-32 XL
264 H
265 H
267 H
268 H
270 H
520 xi
520 Lxi
523 Dxi
Rider
Mähwerke
Zubehör
Handgeräte
Robin
Impressum
(C) by motoruf