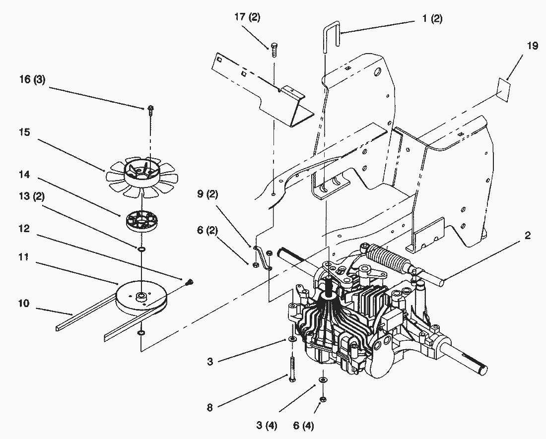
| Pos. | Bezeichnung | Ersatzteilnummer | |
| 1 | U.Buegel | 92-6769 |
| 2 | Transaxle-Tuff Torq K61 (Only On: 72043, 72103, 72063,72083) | 92-6762 |
| 3 | Scheibe | 3256-23 |
| 6 | MUTTER | 3296-29 |
| 8 | Schraube | 322-12 |
| 9 | Strap-Torque (Only On: 72043,72063,72103) | 93-0525-03 |
| 10 | Belt-Hydro (Only On: 72043, 72063, 72083, 72103) | 92-6718 |
| 11 | Riemenscheibe | 92-6686 |
| 12 | Schraube | 3245-32 |
| 13 | Seegerring | 936118 |
| 14 | Distanzscheibe | 92-6943 |
| 15 | Luefterfluegel | 92-6742 |
| 16 | Schraube | 49-2040 |
| 17 | Schraube | 322-6 |
| 19 | Decal-Hydro Valve (Only On: 72043,72083) | 92-6726 |
| 19 | Decal-Bypass (Only On: 72063,72103) | 92-7090 |