Zurück zu
>
Roth / TORO
>
Aufsitzmäher
>
Traktor
>
244-5
>
308/72060
>
3900001
>
Getriebeachse (Peerlesss Modell-Nr. 801-062)
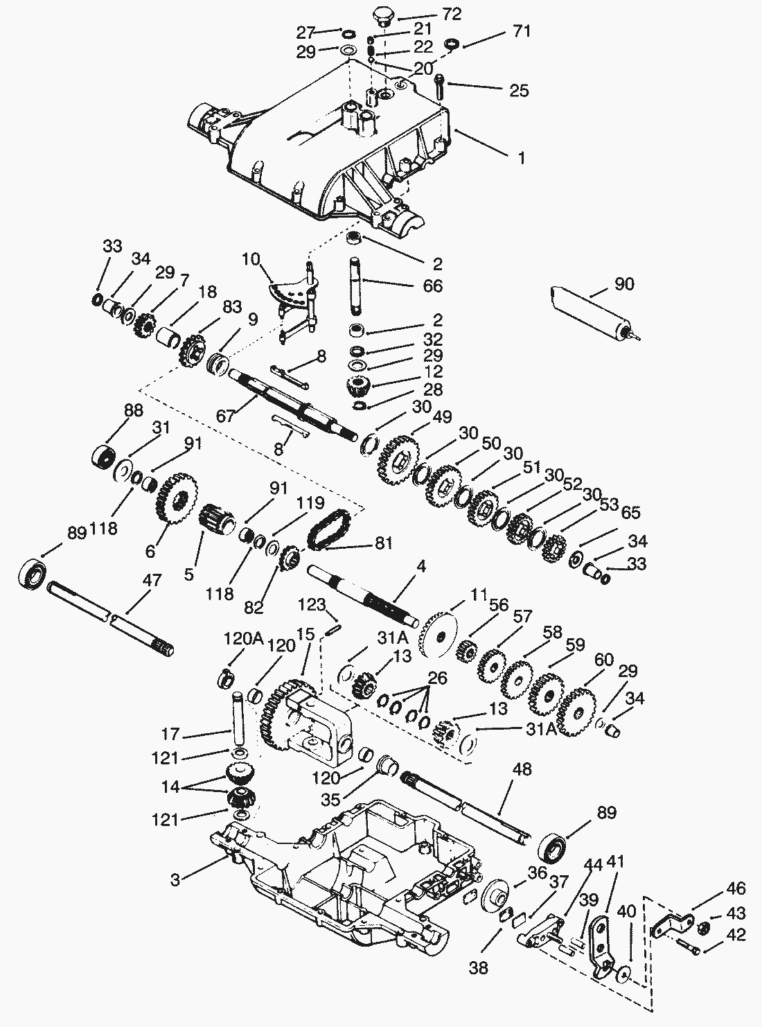
Ersatzteillisten für Toro Roth / TORO Getriebeachse (Peerlesss Modell-Nr. 801-062)
Pos.
Bezeichnung
Ersatzteilnummer
Axle (13-1/4 Long) (Incl. No. 26) 47 43 5_961030 1 72060 Axle (13-1/4 Long) (Incl. No. 26)
774658
Axle (15-1/8 Long) (Incl. No. 26) 48 44 5_961030 1 72060 Axle (15-1/8 Long) (Incl. No. 26)
774657
Pos.
Bezeichnung
Ersatzteilnummer
1
Deckel
772082
2
Lager
780122
3
Case, Transaxle
770071A
4
Welle
776204
5
Pinion, Output
778138
6
Zahnrad
778139
7
Gear, Spur (15 teeth)
778136
8
Key
792089A
9
Collar, Shift
784266
10
Schaltwelle M.Segment
784290
11
Gear, Bevel (42 teeth)
778154
12
Kegelrad
778153
13
Gear-Bevel
778221
14
Gear-Bevel Pinion
778068
15
Zahnrad
778175
17
Stift
786034
18
Spacer
786074
20
Kugel
792077
21
Schraube
792078
22
Feder
792079
25
Schraube
792073
26
Seegerring
792125
27
Sicherungsring
792035
28
Sicherungsring
788040
29
Scheibe
780072
30
Scheibe
780108
31
Washer, Flat
780113
31
Scheibe
780001
32
O-Ring
788057
33
Wellendichtung
788051
34
Bushing, Flanged
780105A
35
Bushing-Flanged
780118A
36
Bremsscheibe
790003
37
Platte
790007
38
Pad, Brake
790006
39
Stift
786026
40
Scheibe
792076
41
Bremshebel
790013
42
Schraube
792073
43
Mutter
792075
44
Halter
790025
46
Halter
786086
49
Gear, Spur (37 teeth)
778146A
50
Gear, Spur (30 teeth)
778124A
51
Gear, Spur (25 teeth)
778123A
52
Gear, Spur (22 teeth)
778122A
53
Gear-Spur (20 teeth)
778121A
56
Zahnrad
778145
57
Gear, Spur (20 teeth)
778126A
58
Gear, Spur (25 teeth)
778127A
59
Gear, Spur (28 teeth)
778128A
60
Gear-Spur (30 teeth)
778129A
65
Scheibe
780109
66
Welle
776135
67
Shaft, Brake
776184A
71
Dichtring
788069
72
Plug, Threaded
792074
81
Chain-Roller
786062A
82
Kettenrad
786061
83
Sprocket (14 teeth)
786060
88
Lager
780121
89
Kugellager
780119
90
Grease (32 oz. bottle)
788067B
91
Nadellager
780112
118
O-Ring
788053
119
Scheibe
780114
120
Buechse
780064
120
Buechse
780120
121
Buechse
780065
123
Spannstift
792040
Gebrauchsanweisungen
Toro
Roth / TORO
Aufsitzmäher
Traktor
264-6
246 HE
244-5
308/72060
3900001
Getriebeachse (Peerlesss Modell-Nr. 801-062)
Elektro-Schaltplan
Starter
Reglergestänge & Abdeckung
Vergaser und Kraftstoffpumpe
Luftfilter
Gebläsegehäuse & Zündung
Zylinderkopf & Ventile
Ölwanne & Pumpe
Kurbelwelle & Nockenwelle (Fortsetzung)
Kurbelwelle & Nockenwelle
Zylinderblock
Kotflügel & Sitz
Hinterrad & Getriebe
Bremse & Kupplung Pedal
Spannrolle & Pedalwelle
Aushubgestänge
Armaturenbrett
Lenkwelle & Anzeigen
Lenkrad & Konsole
Kraftstofftank & Lenkung Halter
Kupplung 92-1686
Batterie
Motor & Kupplung
Vorderachse
Hauptrahmen
Haube
212-H
212-5
17-44 HXLE
16-44 HXL
16-38 HXL
16-38 XLE
15-44 HXL
15-38 HXL
14-38 HXL
14-38 XL
13-38 HXL
13-38 XL
13-32 XLE
12-38 HXL
12-38 XL
12-32 XL
264 H
265 H
267 H
268 H
270 H
520 xi
520 Lxi
523 Dxi
Rider
Mähwerke
Zubehör
Handgeräte
Robin
Impressum
(C) by motoruf