Zurück zu
>
Roth / TORO
>
Aufsitzmäher
>
Traktor
>
244-5
>
308/72060
>
3900001
>
Batterie
Ersatzteillisten für Toro Roth / TORO Batterie
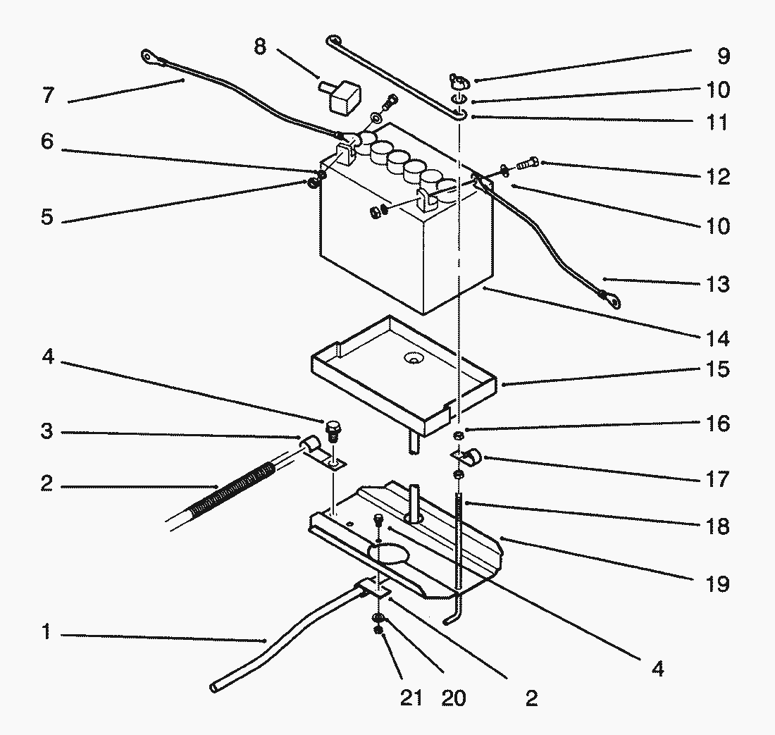
Pos.
Bezeichnung
Ersatzteilnummer
1
Entluefterschlauch
114720
2
Wire Harness
79-5010
3
Klemme
8830
4
S.W. Form Screw
926720
5
Mutter
3217-5
6
Federring
3253-3
7
Kabel
111076
8
Cover-Battery Terminal
109553
9
Fluegelmutter
32103-22
10
scheibe
3256-22
11
Batteriehalterung
117316
12
Schraube
321-4
13
Kabel
112757
14
Battery
104962
15
Batteriehalterung
106948
16
Nut
915111
17
Clamp
105490
18
Hook
109547
19
Plate-Battery
78-6820
20
scheibe
3256-22
21
MUTTER
3296-42
Gebrauchsanweisungen
Toro
Roth / TORO
Aufsitzmäher
Traktor
264-6
246 HE
244-5
308/72060
3900001
Getriebeachse (Peerlesss Modell-Nr. 801-062)
Elektro-Schaltplan
Starter
Reglergestänge & Abdeckung
Vergaser und Kraftstoffpumpe
Luftfilter
Gebläsegehäuse & Zündung
Zylinderkopf & Ventile
Ölwanne & Pumpe
Kurbelwelle & Nockenwelle (Fortsetzung)
Kurbelwelle & Nockenwelle
Zylinderblock
Kotflügel & Sitz
Hinterrad & Getriebe
Bremse & Kupplung Pedal
Spannrolle & Pedalwelle
Aushubgestänge
Armaturenbrett
Lenkwelle & Anzeigen
Lenkrad & Konsole
Kraftstofftank & Lenkung Halter
Kupplung 92-1686
Batterie
Motor & Kupplung
Vorderachse
Hauptrahmen
Haube
212-H
212-5
17-44 HXLE
16-44 HXL
16-38 HXL
16-38 XLE
15-44 HXL
15-38 HXL
14-38 HXL
14-38 XL
13-38 HXL
13-38 XL
13-32 XLE
12-38 HXL
12-38 XL
12-32 XL
264 H
265 H
267 H
268 H
270 H
520 xi
520 Lxi
523 Dxi
Rider
Mähwerke
Zubehör
Handgeräte
Robin
Impressum
(C) by motoruf