Einstellungen Computer

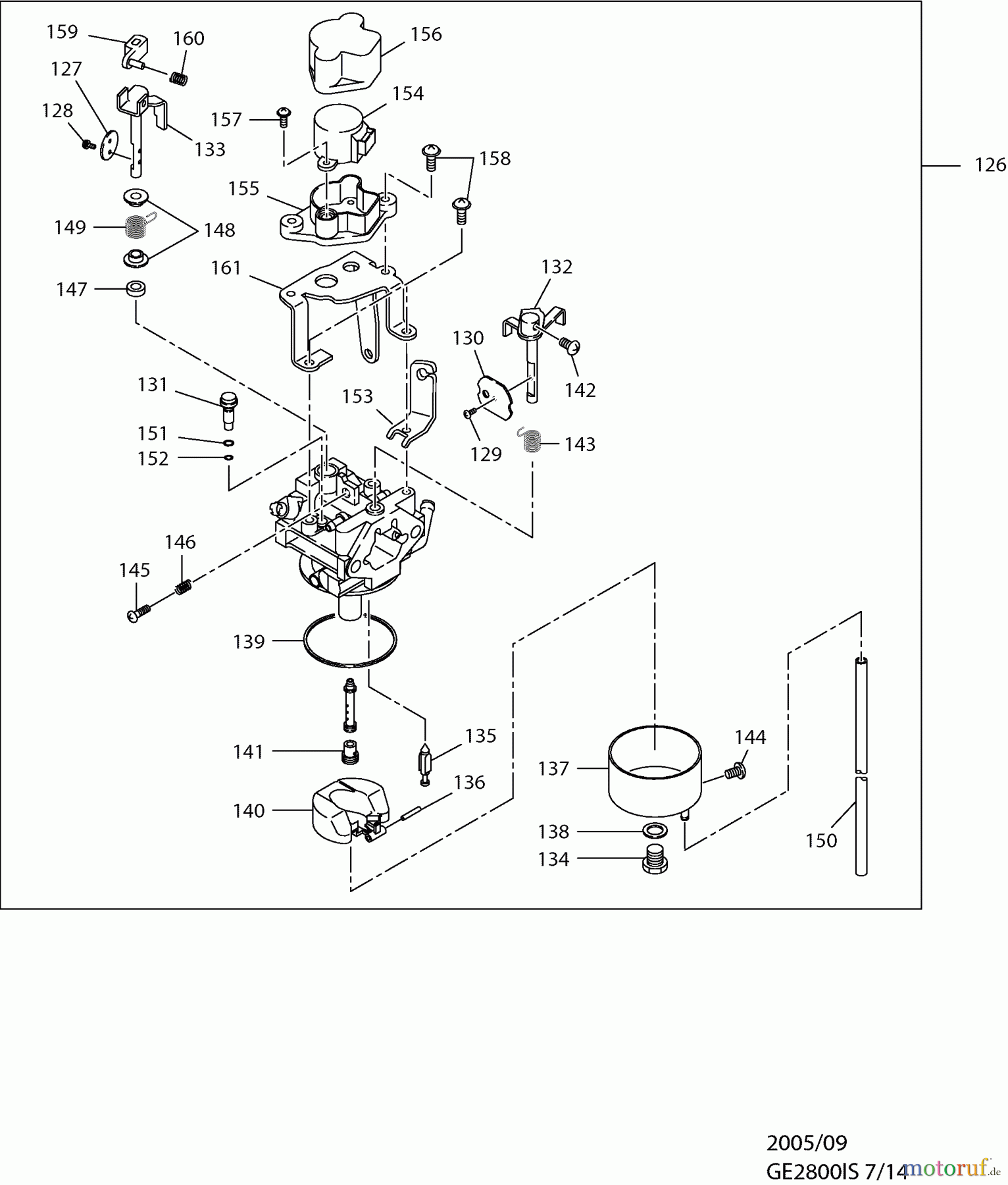
Dolmar GE-2800 IS 7 Vergaser Ersatzteile

7 Vergaser GE-2800 IS

 Dolmar Stromerzeuger GE-2800 IS 7  Vergaser

Hier finden Sie die Ersatzteilzeichnung für Dolmar Stromerzeuger GE-2800 IS 7 Vergaser. Wählen Sie das benötigte Ersatzteil aus der Ersatzteilliste Ihres Dolmar Gerätes aus und bestellen Sie einfach online. Viele Dolmar Ersatzteile halten wir ständig in unserem Lager für Sie bereit.

Rasen
Bankeinzug, MasterCard, Visa, American Express, PayPal, Nachnahme, Vorauskasse, Sofortüberweisung
Datenschutzerklärung Impressum
Qualitätsmanagement
Informieren Sie uns, wenn Sie einen Fehler gefunden haben.