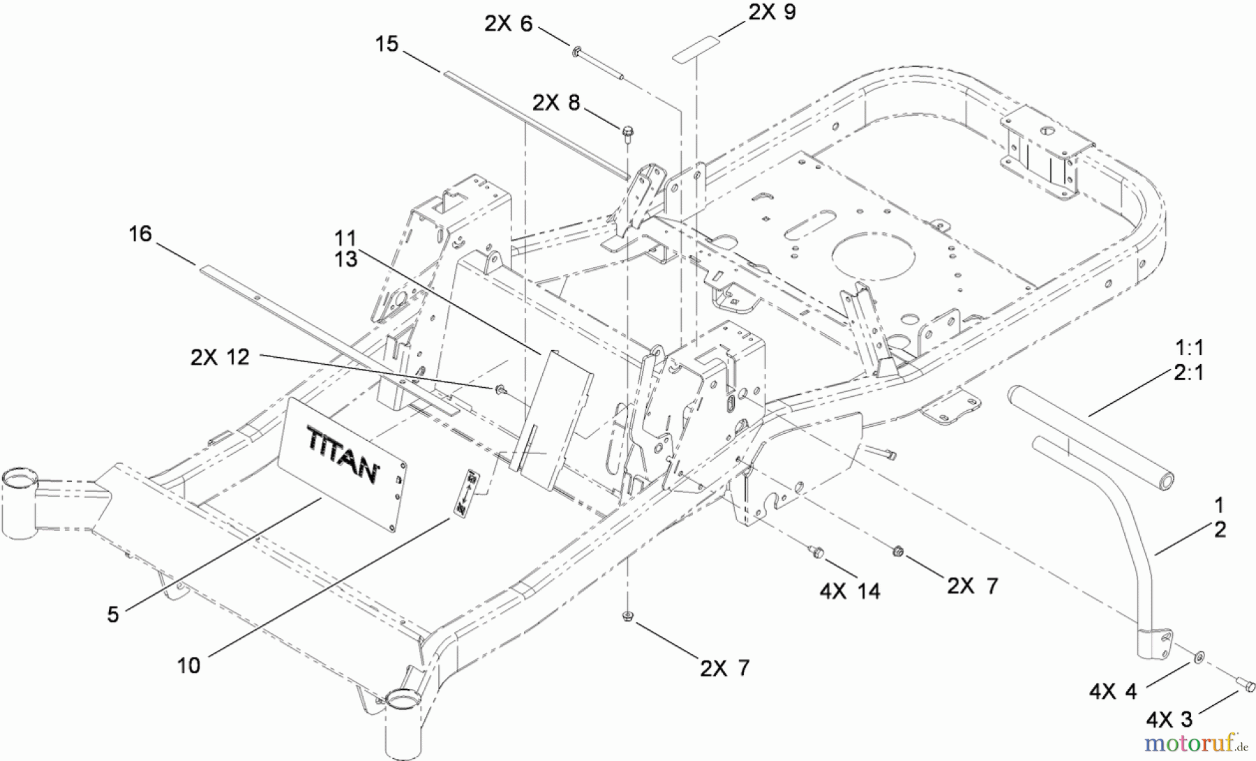
Toro 74820 (ZX5000) - TITAN ZX5000 Zero-Turn-Radius Riding Mower, 2010 (310000001-310999999) HANDLE CONTROL ASSEMBLY Ersatzteile
HANDLE CONTROL ASSEMBLY 74820 (ZX5000) - Toro TITAN ZX5000 Zero-Turn-Radius Riding Mower, 2010 (310000001-310999999)

Hier finden Sie die Ersatzteilzeichnung für Toro Neu Mowers, Zero-Turn 74820 (ZX5000) - Toro TITAN ZX5000 Zero-Turn-Radius Riding Mower, 2010 (310000001-310999999) HANDLE CONTROL ASSEMBLY. Wählen Sie das benötigte Ersatzteil aus der Ersatzteilliste Ihres Toro Gerätes aus und bestellen Sie einfach online. Viele Toro Ersatzteile halten wir ständig in unserem Lager für Sie bereit.


Qualitätsmanagement
Informieren Sie uns, wenn Sie einen Fehler gefunden haben.


