Toro 22166 - 21" Heavy-Duty Recycler/Rear Bagger Lawnmower, 2003 (230000001-230999999) MUFFLER ASSEMBLY HONDA GXV160K1 A12 Ersatzteile
MUFFLER ASSEMBLY HONDA GXV160K1 A12 22166 - Toro 21" Heavy-Duty Recycler/Rear Bagger Lawnmower, 2003 (230000001-230999999)

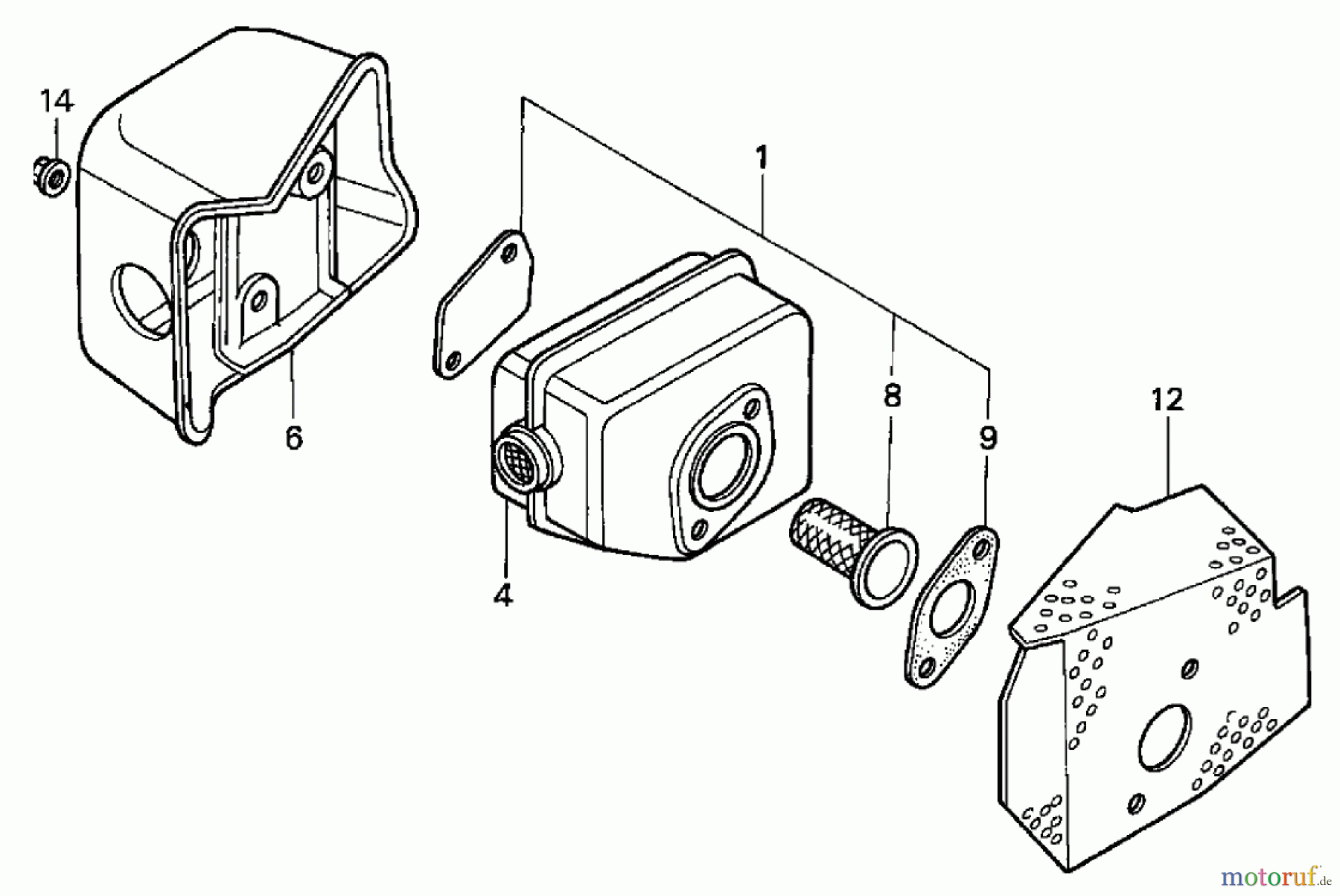
Hier finden Sie die Ersatzteilzeichnung für Toro Neu Mowers, Walk-Behind Seite 2 22166 - Toro 21" Heavy-Duty Recycler/Rear Bagger Lawnmower, 2003 (230000001-230999999) MUFFLER ASSEMBLY HONDA GXV160K1 A12. Wählen Sie das benötigte Ersatzteil aus der Ersatzteilliste Ihres Toro Gerätes aus und bestellen Sie einfach online. Viele Toro Ersatzteile halten wir ständig in unserem Lager für Sie bereit.
| BildNr | Artikel Nummer | Bezeichnung | |
| 1 | Honda 06180-ZE6-820 | ||
| 4 | Honda 18310-ZG9-J01 | ||
| 6 | Honda 18320-ZG9-M01 | ||
| 8 | Honda 06180-888-505 | ||
| TR06180-888-810 | |||
| 9 | Honda 18381-ZE6-820 | ||
| 12 | Honda 18381-ZG9-M00 | ||
| 14 | Honda 90343-ZE6-000 | ||


Qualitätsmanagement
Informieren Sie uns, wenn Sie einen Fehler gefunden haben.

