Compact Utility Loaders WATER PIPE ASSEMBLY Ersatzteile
WATER PIPE ASSEMBLY 22302 - Toro Dingo 220-D Traction Unit (SN: 990001 - 999999) (1999)

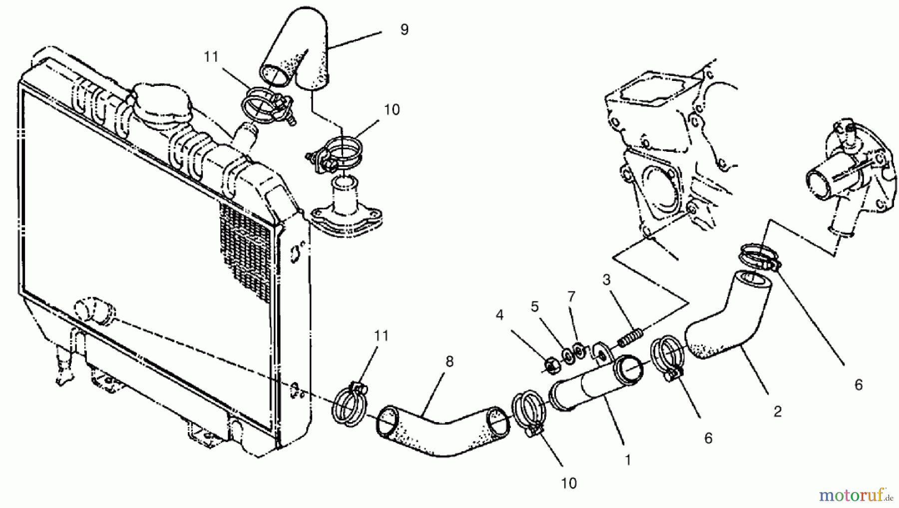
Hier finden Sie die Ersatzteilzeichnung für Compact Utility Loaders 22302 - Toro Dingo 220-D Traction Unit (SN: 990001 - 999999) (1999) WATER PIPE ASSEMBLY. Wählen Sie das benötigte Ersatzteil aus der Ersatzteilliste Ihres Compact Utility Loaders Gerätes aus und bestellen Sie einfach online. Viele Compact Utility Loaders Ersatzteile halten wir ständig in unserem Lager für Sie bereit.
| BildNr | Artikel Nummer | Bezeichnung | |
| 1 | TR100-1918 | PIPE-WATER | |
| 2 | TR100-1975 | PIPE-WATER | |
| 3 | TR100-1924 | STUD | |
| 4 | TR98-7572 | Mutter | |
| 5 | TR98-7699 | FEDERRING | |
| 6 | TR100-1753 | CLAMP-HOSE | |
| 7 | TR98-7648 | WASHER-PLAIN | |
| 8 | TR100-2025 | Wasserschlauch | |
| 9 | TR100-2026 | Wasserschlauch | |
| 10 | TR100-1753 | CLAMP-HOSE | |
| 11 | TR100-1796 | CLAMP, HOSE | |


Qualitätsmanagement
Informieren Sie uns, wenn Sie einen Fehler gefunden haben.

