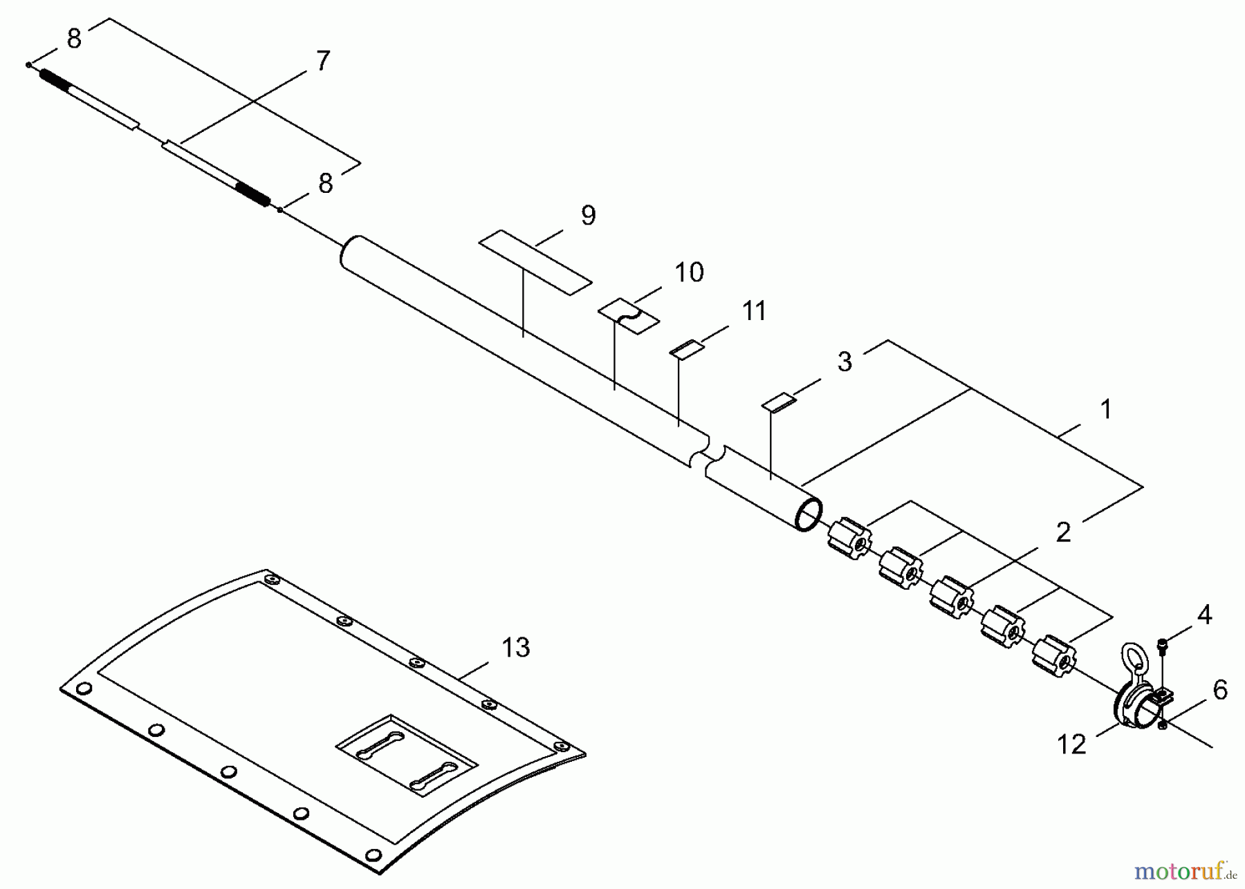
Shindaiwa B45LA - String Trimmer / Brush Cutter, S/N: 9013121 - 9096060 Main Pipe Ersatzteile
Main Pipe B45LA - Shindaiwa String Trimmer / Brush Cutter, S/N: 9013121 - 9096060

Hier finden Sie die Ersatzteilzeichnung für Shindaiwa Trimmer, Faden / Bürste B45LA - Shindaiwa String Trimmer / Brush Cutter, S/N: 9013121 - 9096060 Main Pipe. Wählen Sie das benötigte Ersatzteil aus der Ersatzteilliste Ihres Shindaiwa Gerätes aus und bestellen Sie einfach online. Viele Shindaiwa Ersatzteile halten wir ständig in unserem Lager für Sie bereit.



