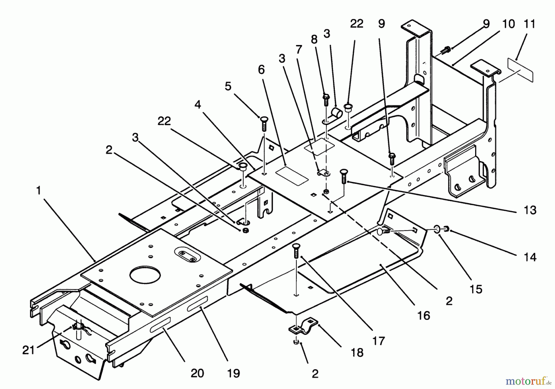
Toro 72041 (244-H) - 244-H Yard Tractor, 1993 (3900001-3999999) MAIN FRAME ASSEMBLY Ersatzteile
MAIN FRAME ASSEMBLY 72041 (244-H) - Toro 244-H Yard Tractor, 1993 (3900001-3999999)

Hier finden Sie die Ersatzteilzeichnung für Toro Neu Mowers, Lawn & Garden Tractor Seite 1 72041 (244-H) - Toro 244-H Yard Tractor, 1993 (3900001-3999999) MAIN FRAME ASSEMBLY. Wählen Sie das benötigte Ersatzteil aus der Ersatzteilliste Ihres Toro Gerätes aus und bestellen Sie einfach online. Viele Toro Ersatzteile halten wir ständig in unserem Lager für Sie bereit.


Qualitätsmanagement
Informieren Sie uns, wenn Sie einen Fehler gefunden haben.


