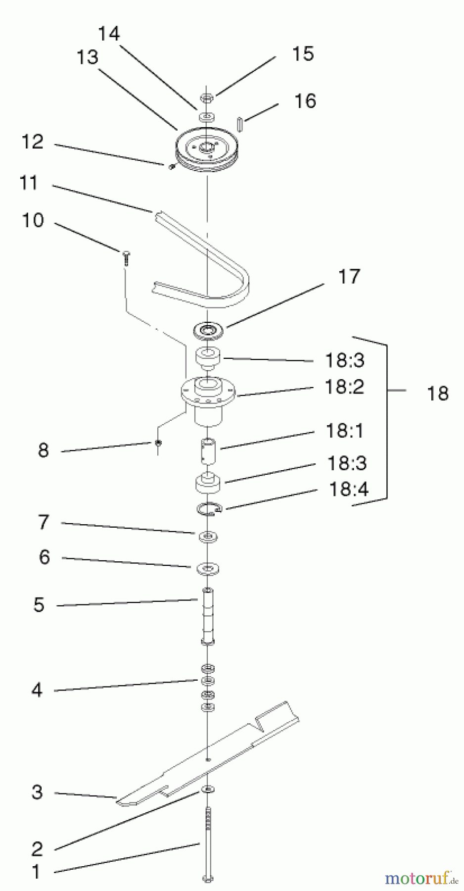
Rasenmäher für Großflächen SPINDLE ASSEMBLY Ersatzteile
KEY
Artikel Nummer:
TR1-807267
BildNr:
16
5.51 €
für EU incl. MwSt., zzgl. Versand
Der Artikel wurde in den Einkaufswagen gelegt!
Wird für Sie bestellt: Lieferzeit ca. 5 Werktage.
Hier finden Sie die Ersatzteilzeichnung für Rasenmäher für Großflächen 30526 - Toro Mid-Size ProLine Mower, Pistol Grip, Hydro Drive, 15 hp, 48" Side Discharge Deck (SN: 220000001 - 220999999) (2002) SPINDLE ASSEMBLY. Wählen Sie das benötigte Ersatzteil aus der Ersatzteilliste Ihres Rasenmäher für Großflächen Gerätes aus und bestellen Sie einfach online. Viele Rasenmäher für Großflächen Ersatzteile halten wir ständig in unserem Lager für Sie bereit.



