Toro 30166 - Mid-Size Proline Gear Traction Unit, 12.5 hp, 1995 (590001-599999) AIR-FILTER Ersatzteile
LUFTFILTER KPL.
Artikel Nummer:
KA110102291
Nicht mehr lieferbar.

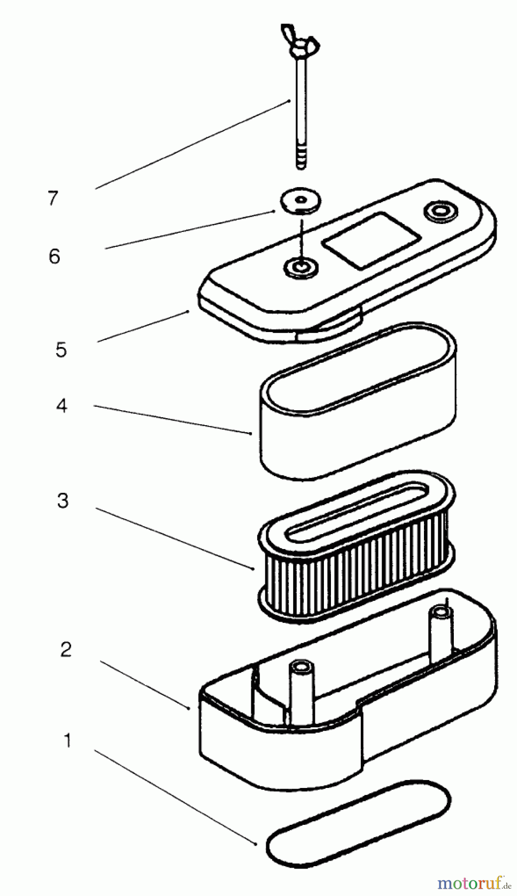
Hier finden Sie die Ersatzteilzeichnung für Toro Neu Mowers, Drive Unit Only 30166 - Toro Mid-Size Proline Gear Traction Unit, 12.5 hp, 1995 (590001-599999) AIR-FILTER. Wählen Sie das benötigte Ersatzteil aus der Ersatzteilliste Ihres Toro Gerätes aus und bestellen Sie einfach online. Viele Toro Ersatzteile halten wir ständig in unserem Lager für Sie bereit.
| BildNr | Artikel Nummer | Bezeichnung | |
| 1 | KA110092443 | GASKET | |
| 2 | KA110112174 | GEHAEUSE | |
| 3 | KA110132021 | LUFTFILTERELEMENT | |
| 4 | KA110132020 | LUFTFILTERELEMENT | |
| 5 | KA110122192 | CAP,AIR FILTER | |
| 6 | KA92200-0423 | ||
| 7 | KA920022230 | BOLT | |
| KA110102291 | LUFTFILTER KPL. | ||


Qualitätsmanagement
Informieren Sie uns, wenn Sie einen Fehler gefunden haben.

