Einkaufswagen
Mein Konto

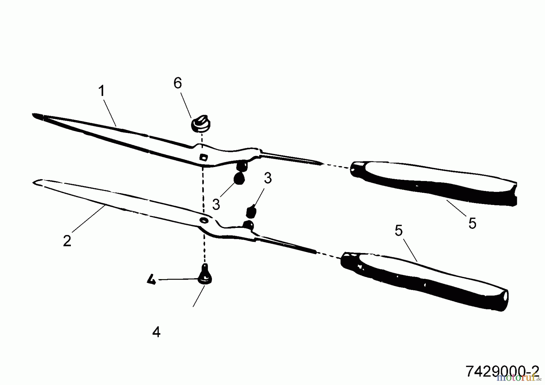
Wolf-Garten RP-TL 7429000 (1995) Ersatzteile

Drehknopf-WOLF

Artikel Nummer:
7430017
BildNr:
6
DINNORM:
7430017 
Modell BJ:
RP-TL / 1995 
Nicht mehr lieferbar.
 Wolf-Garten Manuelle Heckenscheren RP-TL 7429000  (1995) Grundgerät

Hier finden Sie die Ersatzteilzeichnung für Wolf-Garten Manuelle Heckenscheren RP-TL 7429000 (1995) Grundgerät. Wählen Sie das benötigte Ersatzteil aus der Ersatzteilliste Ihres Wolf-Garten Gerätes aus und bestellen Sie einfach online. Viele Wolf-Garten Ersatzteile halten wir ständig in unserem Lager für Sie bereit.

Rasen
Bankeinzug, MasterCard, Visa, American Express, PayPal, Nachnahme, Vorauskasse, Sofortüberweisung
Qualitätsmanagement
Informieren Sie uns, wenn Sie einen Fehler gefunden haben.