Zurück zu
>
Benzinmotoren
>
Kawasaki
>
FA / FC
>
FC 150 V ( 1999 / 2096055- )
>
Ventile, Nockenwelle (2096055-1999-4)
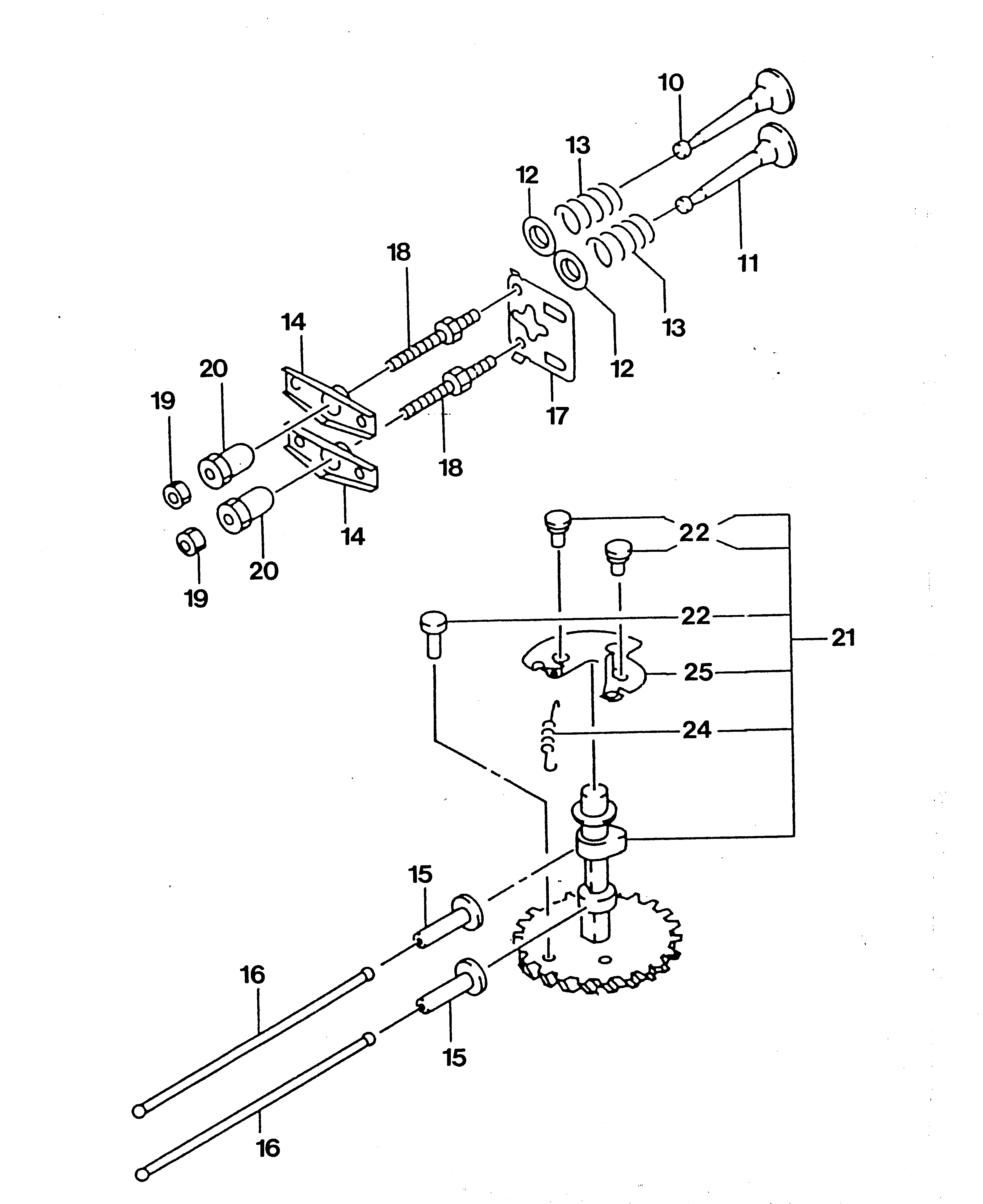
Ersatzteillisten für Wolf Benzinmotoren Ventile, Nockenwelle (2096055-1999-4)
Pos.
Bezeichnung
Ersatzteilnummer
10
Einlaßventil
2090 131
11
Auslaßventil
2090 132
12
Ventilteller
2090 133
13
Ventilfilter
2090 134
14
Hebel
2090 135
15
Ventilstößel
2090 136
16
Ventilwelle
2090 137
17
Führung
2090 138
18
Schraube
2090 139
19
Mutter
2090 140
20
Mutter
2090 141
21
Nockenwelle kpl.
2090 062
22
Stift
2090 142
24
Feder
2090 144
25
Druckplatte
2090 146
Gebrauchsanweisungen
Wolf
Handgeräte
Heckenscheren
Universalscheren
Handgrasscheren
Astscheren
Baumscheren
Baumpflege
Beleuchtungssysteme
Accuscheren
Häcksler
Sägen
Trimmer
Spindelmäher
Streuwagen / Portax
Schlauchwagen
Vertikutierer / Lüfter / Aerifizierer
Mäher
Aufsitzmäher
Benzinmotoren
Tecumseh
Briggs & Stratton
Honda
Kawasaki
FA / FC
FA 76 ( 1996 / 2055000-B - D )
FA 76 ( 1996 / 2055000-E )
FA 76 ( 1996 / 2055000-F, G )
FC 150 V ( 1996 / 2090065- )
FC 150 V ( 1999 / 2096055- )
Motor FC150V (2096055-1999-1)
Zylinder, Kurbelgehäuse (2096055-1999-2)
Kolben, Kurbelwelle (2096055-1999-3)
Ventile, Nockenwelle (2096055-1999-4)
Vergaser (2096055-1999-5)
Schwungrad, Zündanlage (2096055-1999-6)
Lüfterhaube, Filter, Auspuff (2096055-1999-7)
Tank (2096055-1999-8)
Starter, Anlasser (2096055-1999-9)
FC 180 V ( 1999 / 2096080- )
FA 76 ( 2003 / 2055000- )
FC 150 V ( 2003 / 2090065- )
FJ
Zubehör
Impressum
(C) by motoruf