Zurück zu
>
Vertikutierer / Lüfter / Aerifizierer
>
Vertikutierer
>
Benzin
>
UV 35 B ( 2006 / 3635000-A )
>
Motor, Messerwalze (3635000a-2006-5)
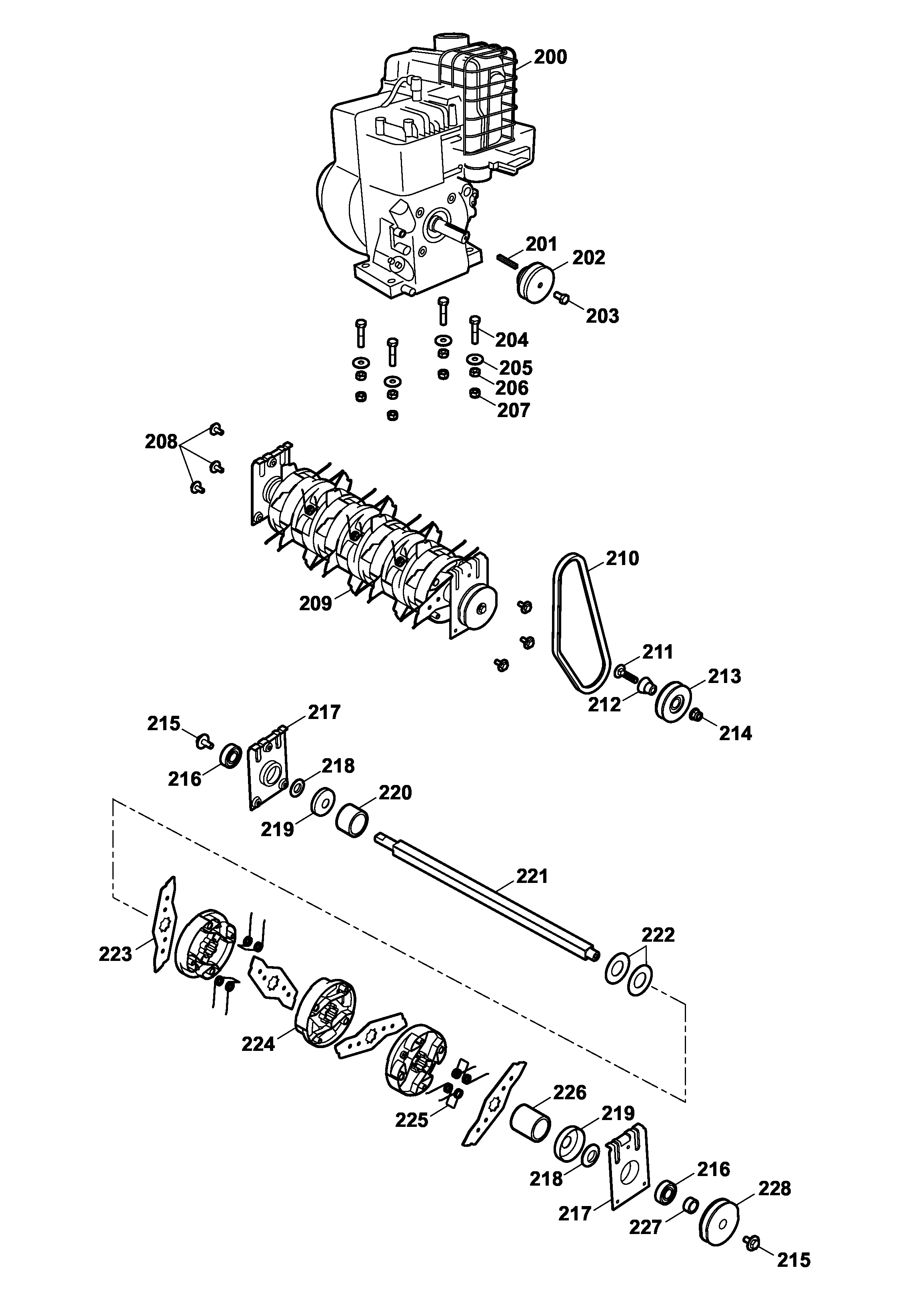
Ersatzteillisten für Wolf Vertikutierer / Lüfter / Aerifizierer Motor, Messerwalze (3635000a-2006-5)
Pos.
Bezeichnung
Ersatzteilnummer
200
Motor Briggs & Stratton
2089 000
201
Passfeder
0028 775
202
Keilriemenscheibe
3635 128
203
6kt.-Schraube
0010 010
204
Schraube M 8x45 DIN 931
0010 334
205
Scheibe
0017 291
206
Mutter M8
0016 213
207
6kt.-Mutter
0016 312
208
6-kt.-Schraube
0010 681
209
Vertikutierwalze kpl.
3635 060
210
Keilriemen
0039 227
211
Schraube
0013 655
212
Achse für Spannrolle innen
3635 110
213
Spannrolle innen
3635 108
214
Mutter
0016 385
215
Schraube Tuf-Lok M6x14
0010 892
216
Kugellager
0023 148
217
Lagerschale
3568 017
218
Druckring
3568 512
219
Wickelschutz
3568 509
220
Distanzbuchse
3585 510
221
Vertikutierwelle
3635 120
222
Tellerfeder
0022 850
223
UV-EV 40 Messersatz
3640 097
224
Distanzmodul
3635 319
225
UV-EFF 40 Federnsatz
3640 098
226
Distanzbuchse, innen grün
3630 312
227
Distanzhülse
3635 111
228
Keilriemenscheibe
3635 112
Gebrauchsanweisungen
Wolf
Handgeräte
Heckenscheren
Universalscheren
Handgrasscheren
Astscheren
Baumscheren
Baumpflege
Beleuchtungssysteme
Accuscheren
Häcksler
Sägen
Trimmer
Spindelmäher
Streuwagen / Portax
Schlauchwagen
Vertikutierer / Lüfter / Aerifizierer
Vertikutierer
Hand
Elektro
Benzin
UV 32 B ( 1996 / 3586080-B )
UV 32 B ( 1996 / 3586081-B )
UV 32 B ( 2000 / 3586080-B )
UR-K ( 2000 / 3586081-B )
UV 38 B ( 2002 / 3638000-A )
UV 38 BX ( 2002 / 3638005-A )
UV-P ( 1999 / 3589680-A )
UV 32 B ( 2003 / 3586080-C )
UV 35 B ( 2006 / 3635000-A )
Datenblatt (3635000a-2006-1)
Chassis (3635000a-2006-2)
Achse, Räder (3635000a-2006-3)
Griff, Schalter (3635000a-2006-4)
Motor, Messerwalze (3635000a-2006-5)
Fangsack (3635068-2006-1)
UV 40 H ( 2006 / 3640000-A )
Lüfter
Mäher
Aufsitzmäher
Benzinmotoren
Zubehör
Impressum
(C) by motoruf