Zurück zu
>
Mäher
>
Benzin
>
Antrieb ab 43 cm
>
Premio
>
Premio 46 BA ( 2001 / 4615000-A )
>
Motor, Messer (4615000a-2001-5)
Ersatzteillisten für Wolf Mäher Motor, Messer (4615000a-2001-5)
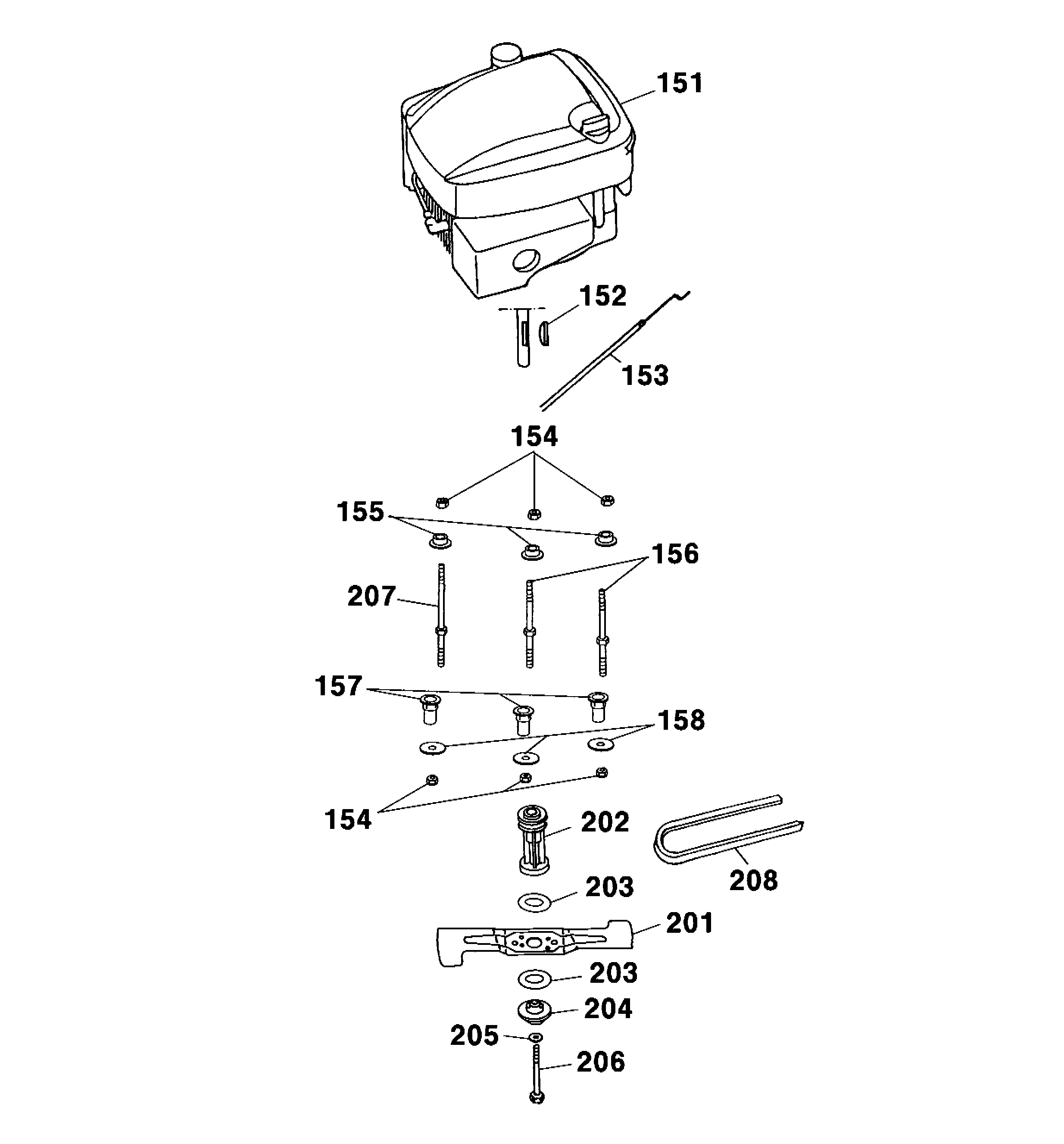
Pos.
Bezeichnung
Ersatzteilnummer
151
Motor XTE 50
2069 050
152
Scheibenfeder
0029 130
153
Bowdenzug Bremse
4005 058
154
6kt.-Mutter
0016 312
155
Motorbuchse
4001 172
156
Stehbolzen, kurz
4001 170
157
Distanzhülse
4601 312
158
Scheibe
0017 111
201
Messer
4601 095
202
Antriebsscheibe
4605 402
203
Kupplungsbelag
6450 403
204
Kupplungsscheibe
4840 402
205
Spannscheibe
0017 105
206
6kt.-Schraube
0010 264
207
Stehbolzen, groß
4001 171
208
Kielriemen
0039 218
Gebrauchsanweisungen
Wolf
Handgeräte
Heckenscheren
Universalscheren
Handgrasscheren
Astscheren
Baumscheren
Baumpflege
Beleuchtungssysteme
Accuscheren
Häcksler
Sägen
Trimmer
Spindelmäher
Streuwagen / Portax
Schlauchwagen
Vertikutierer / Lüfter / Aerifizierer
Mäher
Accu
Benzin
Schiebe bis 42 cm
Schiebe ab 43 cm
Antrieb bis 42 cm
Antrieb ab 43 cm
2er
4er
6er
Moto-Verte
Concept
Premio
Premio 46 BA ( 2001 / 4615000-A )
Datenblatt (4615000a-2001-1)
Chassis, Anbauteile (4615000a-2001-2)
Achse, Räder, Höhenverstellung (4615000a-2001-3)
Griff kpl. (4615000a-2001-4)
Motor, Messer (4615000a-2001-5)
Fangkorb Premio ( 2005 / 4950065- )
50 XTE ( 2003 / 2069070- )
Premio 46 HA ( 2001 / 4615006-A )
Premio 46 BA ( 2003 / 4615000-B, C, D )
Premio 46 TMA ( 2003 / 4618000-A, B )
Premio 46 BA ( 2004 / 4615000-E )
Premio 46 HA ( 2004 / 4615008-A )
Premio 46 TMA ( 2004 / 4618000-C )
Premio 46 BAI ( 2002 / 4617000-A )
Premio 46 BAI ( 2003 / 4617000-B )
Premio 46 BAi ( 2004 / 4617000-C )
Power Edition
Esprit
Sonstige
Elektrostart / Touch&Mow
Elektro
Aufsitzmäher
Benzinmotoren
Zubehör
Impressum
(C) by motoruf