Zurück zu
motoruf
Warenkorb

Ersatzteillisten für Wolf Mäher Motor, Messer (4602080a-2003-5)




Ersatzteilliste


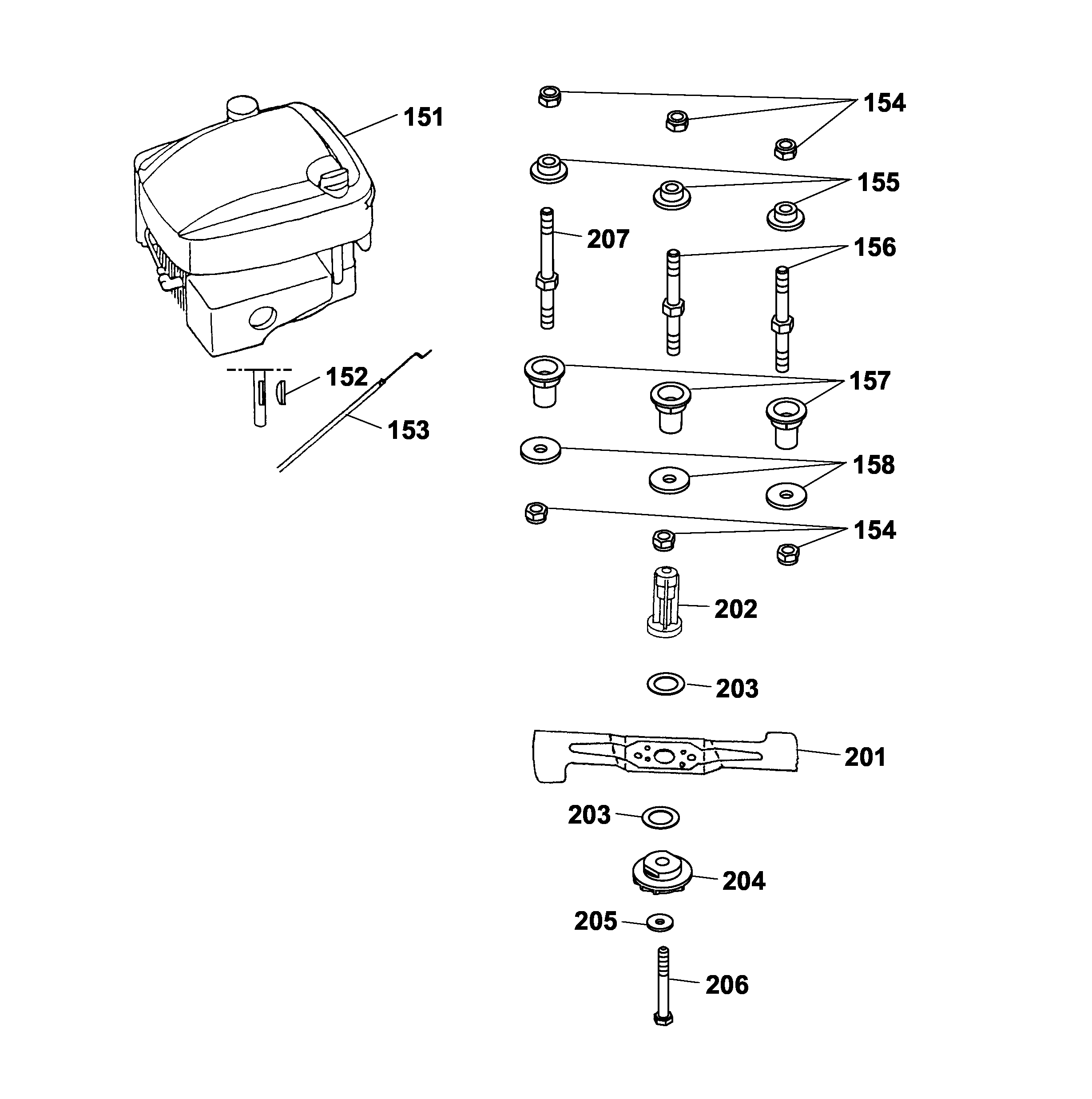
Pos.BezeichnungErsatzteilnummer
151Motor Quantum 55 XTE (Serie B - C)2076 050
152Scheibenfeder0029 130
153Bowdenzug Bremse4005 058
1546kt.-Mutter0016 312
155Motorbuchse4001 172
156Stehbolzen, kurz4001 170
157Distanzhülse4601 312
158Scheibe0017 111
201Messer4601 095
202Kupplungsbuchse4601 402
203Vulkanfiberscheibe4005 403
204Kupplungsscheibe4840 402
205Spannscheibe0017 105
2066kt.-Schraube0010 264
207Stehbolzen, groß4001 171
Gebrauchsanweisungen
Wolf
Impressum
(C) by motoruf