Zurück zu
>
Benzinmotoren
>
Briggs & Stratton
>
Quattro
>
Quattro 40 S ( 2002 / 2056060- )
>
Kurbelgehäuse (2056060-2002-1)
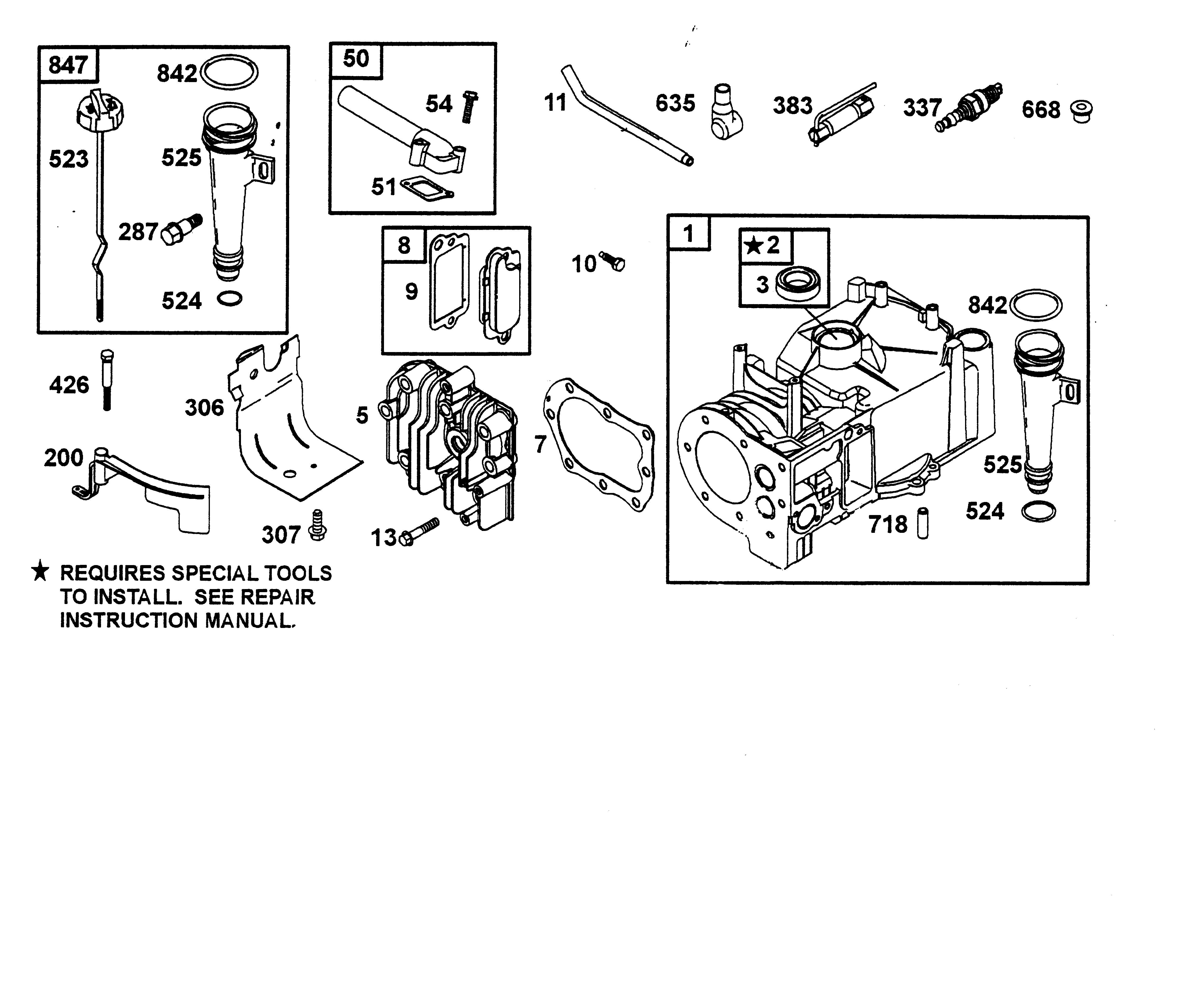
Ersatzteillisten für Wolf Benzinmotoren Kurbelgehäuse (2056060-2002-1)
Pos.
Bezeichnung
Ersatzteilnummer
1
Zylinder
2007 100
2
Buchse XE 50/55
2059 102
3
Simmering
2057 352
5
Zylinderkopf
2056 164
7
Zylinderkopfdichtung
2056 159
8
Entlüfterventil
2056 166
9
Dichtung/Entlüfter
1034 301
10
Schraube
1034 302
11
Leitung
2056 167
13
Schraube
2062 501
50
Rohr-Ansau.
1034 227
51
Dichtung
1034 222
54
Schraube
2056 168
200
Windfahne
2056 169
287
Schraube
2006 304
306
Leitblech
2056 170
307
Schraube
2063 120
337
Zündkerze
2085 300
383
Zündkerzenschlüssel
2056 171
426
Schraube
2056 172
523
Ölmessstab
2056 173
524
Ring-O
2007 205
525
Öleinfüllrohr
2003 203
635
Kerzenstecker
1034 435
668
Hülse
2056 174
718
Paßstift
2057 117
842
O-Ring
2056 160
847
Einfüllrohr
2056 176
Gebrauchsanweisungen
Wolf
Handgeräte
Heckenscheren
Universalscheren
Handgrasscheren
Astscheren
Baumscheren
Baumpflege
Beleuchtungssysteme
Accuscheren
Häcksler
Sägen
Trimmer
Spindelmäher
Streuwagen / Portax
Schlauchwagen
Vertikutierer / Lüfter / Aerifizierer
Mäher
Aufsitzmäher
Benzinmotoren
Tecumseh
Briggs & Stratton
Quattro
Quattro 40 ( 2001 / 2056000- )
Motor B&S Quattro 40 KAT (4006000a-2001-7)
Quattro 40 S ( 2002 / 2056060- )
Kurbelgehäuse (2056060-2002-1)
Kolben, Pleuel, Ventile (2056060-2002-2)
Kurbelwelle, Ölwanne (2056060-2002-3)
Vergaser (2056060-2002-4)
Regelung (2056060-2002-5)
Polrad, Zündspule, Bremse (2056060-2002-6)
Kraftstoffbehälter (2056060-2002-7)
Luftfilter, Schalldämpfer (2056060-2002-8)
Starter (2056060-2002-9)
Dichtungssatz (2056060-2002-10)
Quattro 40 ( 2003 / 2056000- )
Quattro 40 ( 2056005-2003 )
Quattro 40 ( 2004 / 2056000- )
Quantum
Diamond
Intek
Sprint
Classic
Honda
Kawasaki
Zubehör
Impressum
(C) by motoruf