Zurück zu
>
Benzinmotoren
>
Briggs & Stratton
>
Quantum
>
XM 45 ( 1999 / 2066075- )
>
Kraftstoffbehälter (2066075-1999-7)
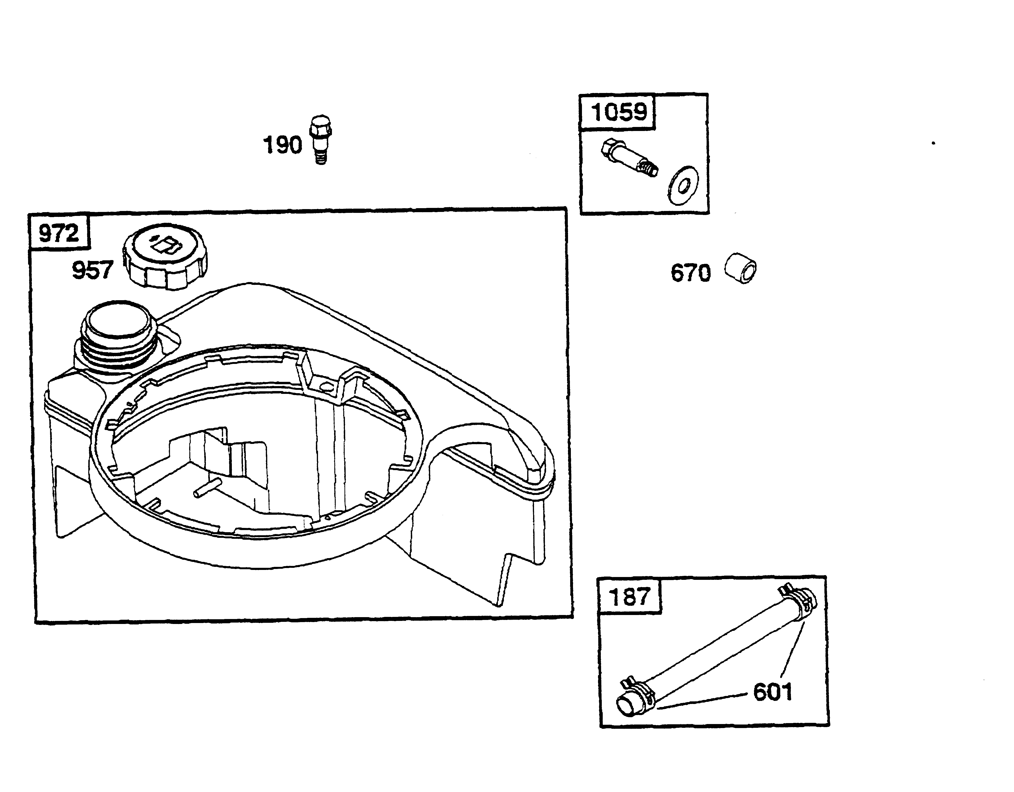
Ersatzteillisten für Wolf Benzinmotoren Kraftstoffbehälter (2066075-1999-7)
Pos.
Bezeichnung
Ersatzteilnummer
187
Schlauch
2058 058
190
Schraube
2063 118
601
Klemme
1036 517
670
Distanzstück
2057 166
957
Tankdeckel
2069 308
972
Kraftstoffbehälter
2059 510
1059
Schraube
2057 143
Gebrauchsanweisungen
Wolf
Handgeräte
Heckenscheren
Universalscheren
Handgrasscheren
Astscheren
Baumscheren
Baumpflege
Beleuchtungssysteme
Accuscheren
Häcksler
Sägen
Trimmer
Spindelmäher
Streuwagen / Portax
Schlauchwagen
Vertikutierer / Lüfter / Aerifizierer
Mäher
Aufsitzmäher
Benzinmotoren
Tecumseh
Briggs & Stratton
Quattro
Quantum
XE, XTE, XTL 35/40/45/50-I/C-ES ( 1996 / 2069050- )
XE, XTE 35/40-50/55 ( 1996 / XEXTE_35-55- )
50 XTE ( 1999 / 2069070- )
XTE 50 ES ( 1999 / 2069080- )
XM 45 ( 1999 / 2066075- )
Kurbelgehäuse (2066075-1999-1)
Kolben (2066075-1999-2)
Kurbelwelle (2066075-1999-3)
Ölwanne (2066075-1999-4)
Vergaser (2066075-1999-5)
Regelung, Zündanlage (2066075-1999-6)
Kraftstoffbehälter (2066075-1999-7)
Luffilter (2066075-1999-8)
Schalldämpfer (2066075-1999-9)
Schwungrad, Lüftergehäuse, Abdeckung (2066075-1999-10)
Starter kpl. (2066075-1999-11)
Dichtungssatz (2066075-1999-12)
XM 45 ( 2002 / 2066075- )
XE 55 I/C ( 2000 / 2074050- )
XTE 50 ES ( 2002 / 2069060- )
50 XTE ( 2003 / 2069070- )
45 XM ( 2003 / 2075000-45- )
55 XM ( 2003 / 2075000-55- )
55 XM (2075060-2003)
55 XTE ( 2003 / 2076050- )
55 X-ES ( 2003 / 2076060- )
55 XES ( 2004 / 2069060- )
50 XTE ( 2004 / 2069070-50- )
55 XTE ( 2004 / 2069070-55- )
45 XM ( 2004 / 2075000-45- )
55 XM ( 2004 / 2075000-55- )
XTE 50 ( 2002 / 2069095- )
Q 48 Fixspeed ( 2004 / 2069096- )
Diamond
Intek
Sprint
Classic
Honda
Kawasaki
Zubehör
Impressum
(C) by motoruf