Zurück zu
>
Aufsitzmäher
>
Scooter
>
SV
>
Scooter SV 4 ( 2001 / 6155000-A )
>
Fangsack, Heckklappe (6155000a-2001-10)
Ersatzteillisten für Wolf Aufsitzmäher Fangsack, Heckklappe (6155000a-2001-10)
Pos.
Bezeichnung
Ersatzteilnummer
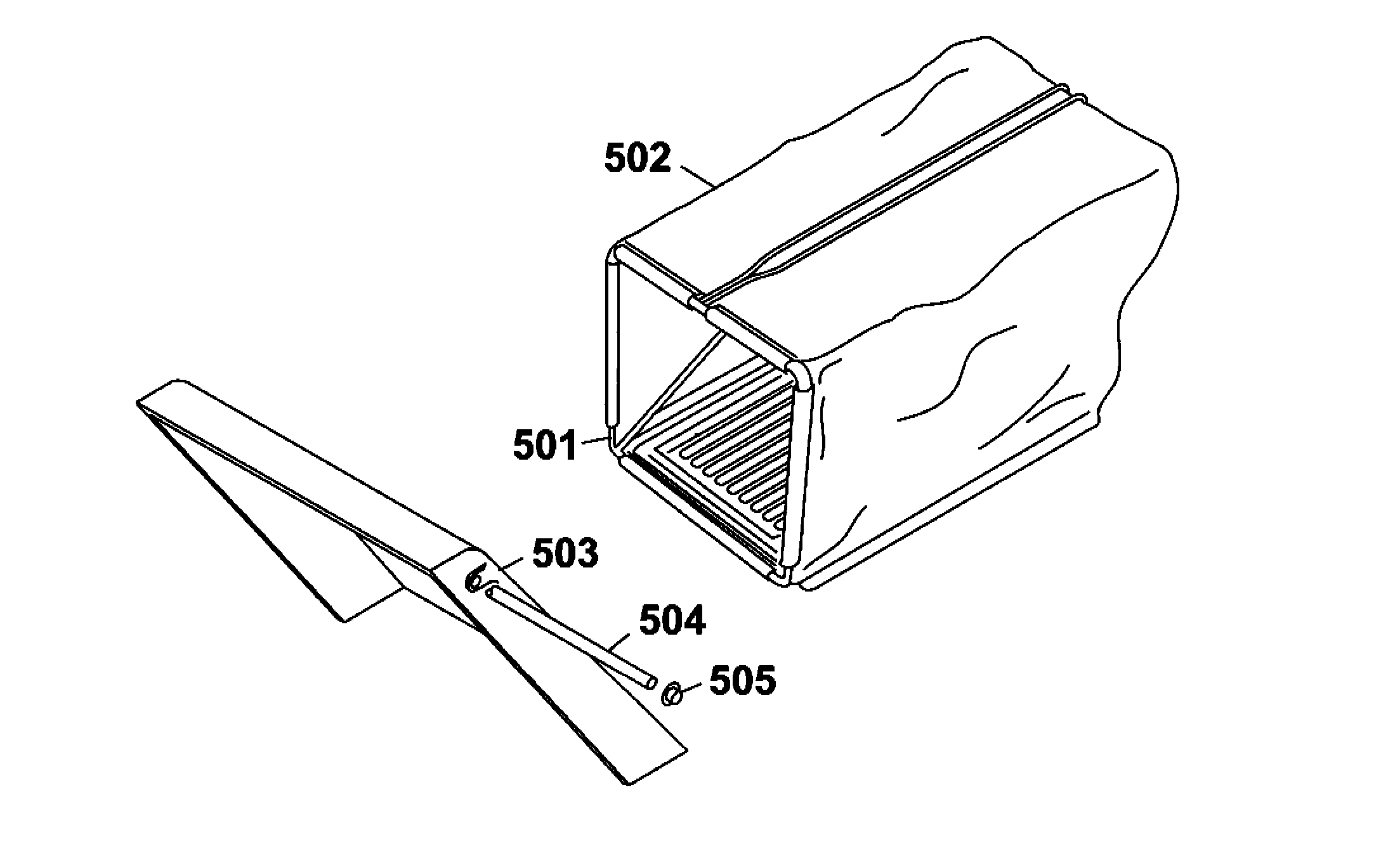
501
Fangsackgestell
6150 064
502
Gewebetuch
6150 320
503
Heckklappe kpl.mit Bild Nr.504 - 505 *
6150 091
504
Rundstab
6150 469
505
Hutclip
3575 503
***
Bedienetikett (Getriebe)
6150 201
***
Bedienetikett (Höhenverstellung)
6150 202
***
Bedienetikett (Messerkupplung)
6150 203
***
Etikett (Schlüsselschalter)
6150 206
***
Sicherheitsetikett / Pictogramm
0051 232
***
Sicherheitsetikett Fangkorb + Anfahren
0051 235
***
Schlüsselanhänger / Schiebehilfe
6150 916
***
Gebrauchsanweisung SV4 / OHV 3
0054 149
***
Gebrauchsanweisung SV 4 M / OHV 3 M
0054 150
***
Polybeutel mit Kleinteilen, bestehend aus:
6150 046
***
Hohlscheibe (4x)
6150 182
***
Mutter
0016 311
***
6-kt.-Schraube ()
0010 301
***
Schlüssel
6150 108
***
Ersatzschlüssel
6150 109
Gebrauchsanweisungen
Wolf
Handgeräte
Heckenscheren
Universalscheren
Handgrasscheren
Astscheren
Baumscheren
Baumpflege
Beleuchtungssysteme
Accuscheren
Häcksler
Sägen
Trimmer
Spindelmäher
Streuwagen / Portax
Schlauchwagen
Vertikutierer / Lüfter / Aerifizierer
Mäher
Aufsitzmäher
Scooter
SV
Scooter SV 4 ( 1997 / 6150000-A )
Scooter SV 4 ( 1998 / 6150000-A )
Scooter SV 4 ( 1999 / 6150000-B )
Scooter SV 4 ( 2001 / 6155000-A )
Datenblatt (6155000a-2001-1)
Oberrahmen, Lenkung (6155000a-2001-2)
Unterrahmen, Höhenverstellung (6155000a-2001-3)
Antrieb, Fahrwerk (6155000a-2001-4)
Messerantrieb (6155000a-2001-5)
Kupplung, Messer (6155000a-2001-6)
Mähwerk (6155000a-2001-7)
vordere Verkleidung, Abdeckung (6155000a-2001-8)
hintere Verkleidung, Sitz (6155000a-2001-9)
Fangsack, Heckklappe (6155000a-2001-10)
Kabelbaum für SV (6155000a-2001-11)
VLV 60 ( 2001 / 2032000- )
Scooter SV 4 ( 2001 / 6155000-B )
Scooter SV 4 ( 2003 / 6155000-D )
Scooter SV 4 ( 2003 / 6155000-C )
OHV
Moto Verte
Getriebe
Cart
Trac
Benzinmotoren
Zubehör
Impressum
(C) by motoruf