Zurück zu
>
Mäher
>
Elektro
>
Schiebe ab 40 cm
>
Compact plus
>
Compact plus Power Edition 40 E ( 2006 / 4048003-A )
>
Chassis (4048003a-2006-2)
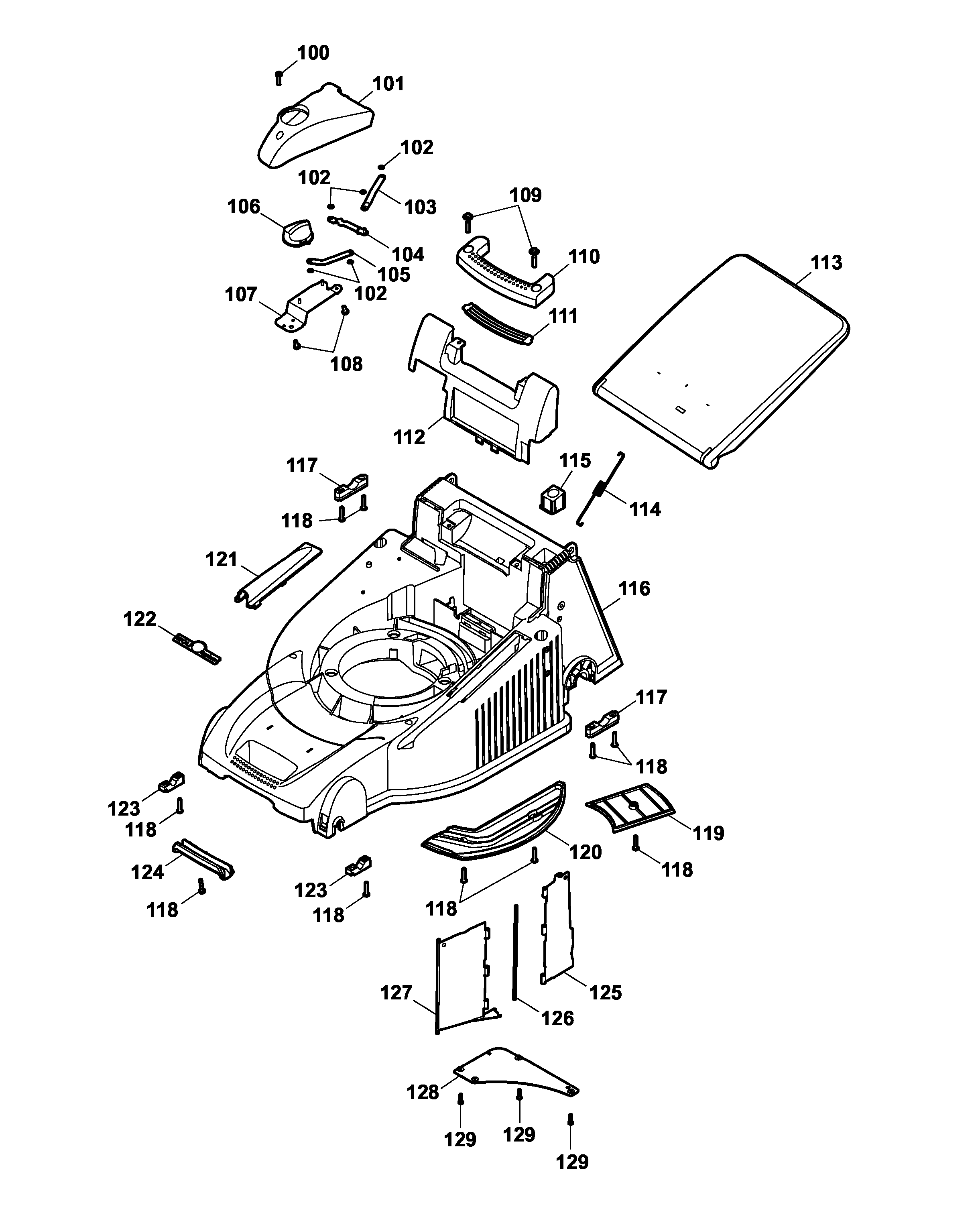
Ersatzteillisten für Wolf Mäher Chassis (4048003a-2006-2)
Pos.
Bezeichnung
Ersatzteilnummer
100
SF-Schraube
0012 613
101
Konsolenabdeckung
4021 306
102
Zackenring
0020 654
103
Koppel 1
4021 136
104
Konsolenlasche
4021 130
105
Koppel 2
4021 134
106
Bedienknopf
4021 305
107
Konsole
4021 114
108
SF-Schraube
0012 606
109
Schraube
0012 643
110
Tragegriff, hinten
4601 304
111
Griffschale hinten
4601 318
112
Chassisabdeckung
4021 310
113
Schutzklappe
4628 322
114
Zugfeder
4961 108
115
Knopf
4961 304
116
Chassis
4021 300
117
Stützschale, hinten
4961 313
118
PT-Schraube
0012 631
119
Keilriemenabdeckung
4961 324
120
Windkanalabdeckung
4001 311
121
Hutze
4601 315
122
WOLF-Garten Marke
0051 115
123
Stützschale, vorne
4961 312
124
Griffschale vorne
4601 319
125
Klappe 2
4021 108
126
Scharnierstab
4021 107
127
Klappe 1
4021 100
128
Trägerblech
4021 113
129
PT-Schraube
0012 625
Gebrauchsanweisungen
Wolf
Handgeräte
Heckenscheren
Universalscheren
Handgrasscheren
Astscheren
Baumscheren
Baumpflege
Beleuchtungssysteme
Accuscheren
Häcksler
Sägen
Trimmer
Spindelmäher
Streuwagen / Portax
Schlauchwagen
Vertikutierer / Lüfter / Aerifizierer
Mäher
Accu
Benzin
Elektro
Schiebe bis 38 cm
Schiebe ab 40 cm
2er
4er
6er
Concept
Premio
Power Edition
Esprit
Sonstige
Compact plus
Compact plus 40 E ( 2006 / 4021000-A )
Compact plus Power Edition 40 E ( 2006 / 4048000-A )
Compact plus Power Edition 40 E ( 2006 / 4048003-A )
Datenblatt (4048003a-2006-1)
Chassis (4048003a-2006-2)
Achse, Räder (4048003a-2006-3)
Griff, Schalter (4048003a-2006-4)
Motor, Messer (4048003a-2006-5)
Fangsack (4048000a-2006-6)
Antrieb
Aufsitzmäher
Benzinmotoren
Zubehör
Impressum
(C) by motoruf