Zurück zu
>
Mäher
>
Benzin
>
Antrieb bis 42 cm
>
Compact plus
>
Compact plus 40 BA ( 2006 / 4013000-A )
>
Chassis (4013000a-2006-2)
Ersatzteillisten für Wolf Mäher Chassis (4013000a-2006-2)
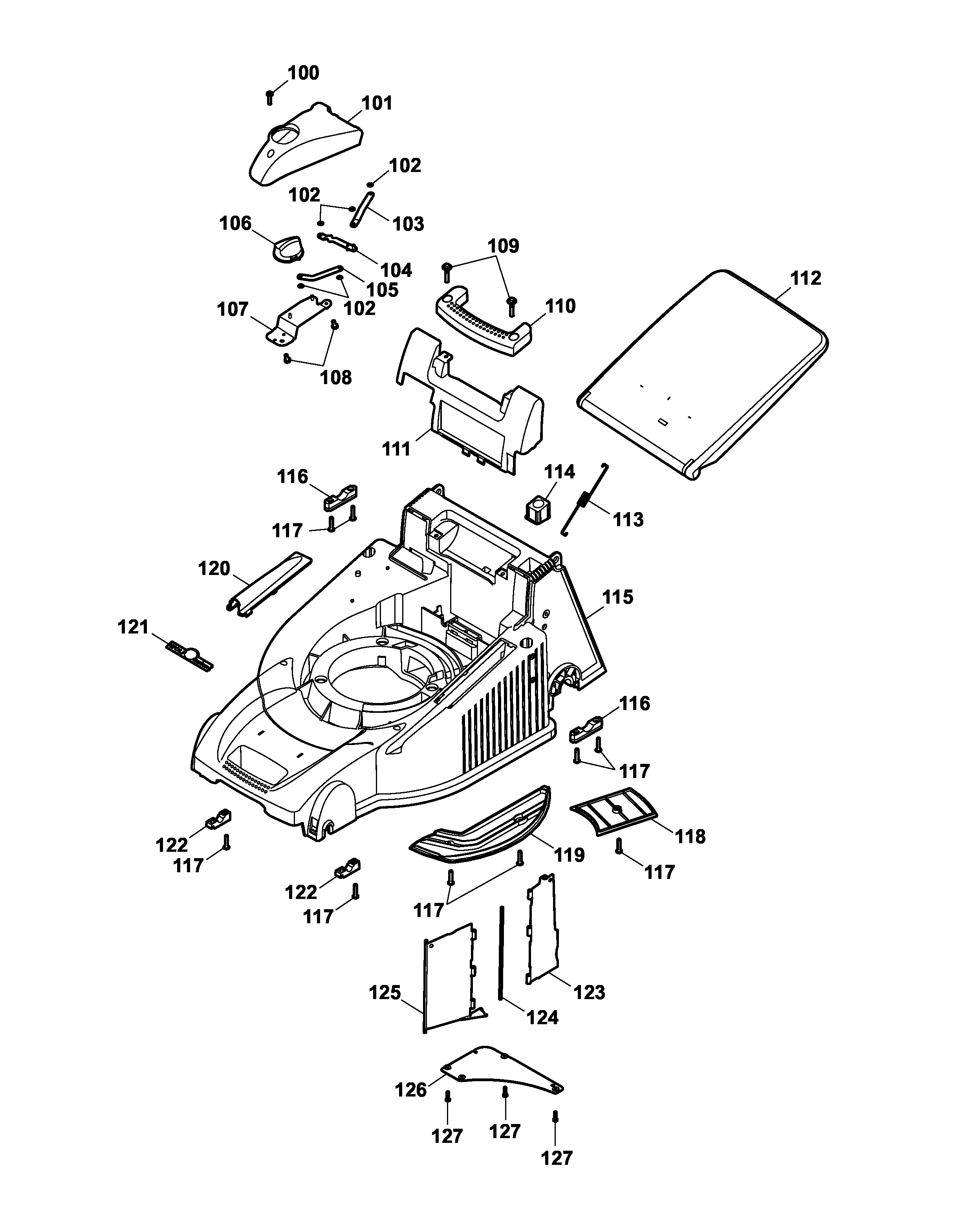
Pos.
Bezeichnung
Ersatzteilnummer
100
SF-Schraube
0012 613
101
Konsolenabdeckung
4021 306
102
Zackenring
0020 654
103
Koppel 1
4021 136
104
Konsolenlasche
4021 130
105
Koppel 2
4021 134
106
Bedienknopf
4021 305
107
Konsole
4021 114
108
SF-Schraube
0012 606
109
Schraube
0012 643
110
Tragegriff, hinten
4601 304
111
Chassisabdeckung
4021 310
112
Schutzklappe
4628 322
113
Zugfeder
4961 108
114
Knopf
4961 304
115
Chassis
4013 300
116
Stützschale, hinten
4961 313
117
PT-Schraube
0012 631
118
Keilriemenabdeckung
4961 324
119
Windkanalabdeckung
4001 311
120
Hutze
4601 315
121
WOLF-Garten Marke
0051 115
122
Stützschale, vorne
4961 312
123
Klappe 2
4021 108
124
Scharnierstab
4021 107
125
Klappe 1
4021 100
126
Trägerblech
4021 113
127
PT-Schraube
0012 625
Gebrauchsanweisungen
Wolf
Handgeräte
Heckenscheren
Universalscheren
Handgrasscheren
Astscheren
Baumscheren
Baumpflege
Beleuchtungssysteme
Accuscheren
Häcksler
Sägen
Trimmer
Spindelmäher
Streuwagen / Portax
Schlauchwagen
Vertikutierer / Lüfter / Aerifizierer
Mäher
Accu
Benzin
Schiebe bis 42 cm
Schiebe ab 43 cm
Antrieb bis 42 cm
2er
6er
Premio
Power Edition
Esprit
Sonstige
Compact plus
Compact plus 40 BA ( 2006 / 4013000-A )
Datenblatt (4013000a-2006-1)
Chassis (4013000a-2006-2)
Achse, Räder (4013000a-2006-3)
Griff kpl. (4013000a-2006-4)
Motor, Messer (4013000a-2006-5)
Fangsack (4013000a-2006-6)
Antrieb ab 43 cm
Elektrostart / Touch&Mow
Elektro
Aufsitzmäher
Benzinmotoren
Zubehör
Impressum
(C) by motoruf