Zurück zu
>
Benzinmotoren
>
Honda
>
GCV
>
GCV 135 A2 ( 2004 / 2098000-135- )
>
Abdeckung, Starter (2098000-135-2004-10)
Ersatzteillisten für Wolf Benzinmotoren Abdeckung, Starter (2098000-135-2004-10)
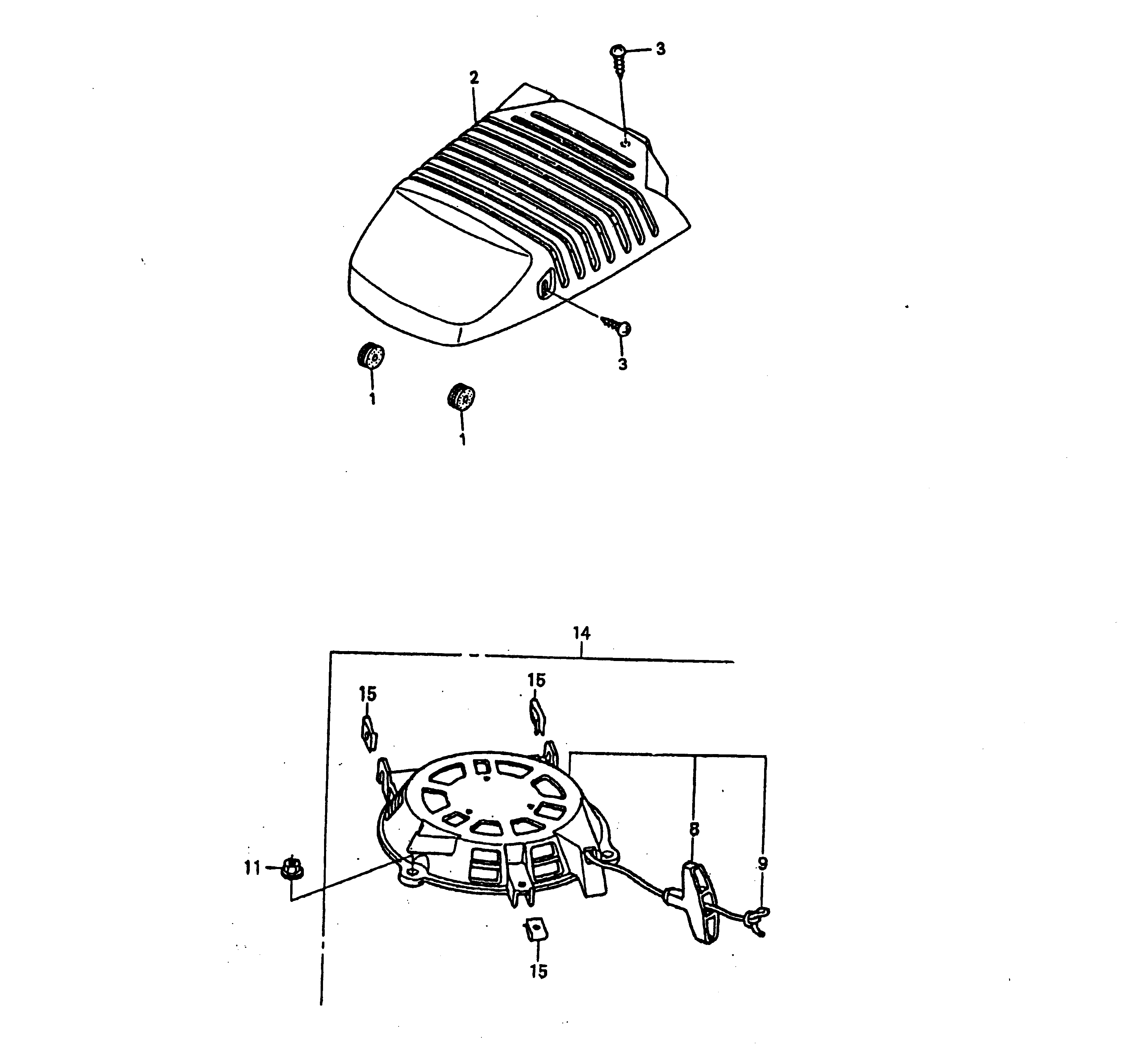
Pos.
Bezeichnung
Ersatzteilnummer
1
Gummilager
2098 616
2
Abdeckung
2098 617
3
Schraube
2098 618
8
Startergriff
2098 435
9
Starterseil
2098 437
11
Mutter-Scheibe
2098 619
14
Starter kpl.
2098 620
15
Clips
2098 621
Gebrauchsanweisungen
Wolf
Handgeräte
Heckenscheren
Universalscheren
Handgrasscheren
Astscheren
Baumscheren
Baumpflege
Beleuchtungssysteme
Accuscheren
Häcksler
Sägen
Trimmer
Spindelmäher
Streuwagen / Portax
Schlauchwagen
Vertikutierer / Lüfter / Aerifizierer
Mäher
Aufsitzmäher
Benzinmotoren
Tecumseh
Briggs & Stratton
Honda
GCV
GCV 160 ( 1999 / 2098000- )
GCV 160 ( 2003 / 2098000- )
GCV 135 N1S ( 2003 / 2098070- )
Motor Honda GCV 135 (4050000a-2006-7)
GCV 135 A2 ( 2004 / 2098000-135- )
Zylinder (2098000-135-2004-1)
Ölwanne (2098000-135-2004-2)
Kurbelwelle, Kolben (2098000-135-2004-3)
Ventile (2098000-135-2004-4)
Regelung (2098000-135-2004-5)
Vergaser (2098000-135-2004-6)
Polrad, Zündspule, Bremse (2098000-135-2004-7)
Kraftstoffbehälter (2098000-135-2004-8)
Luftfilter, Schalldämpfer (2098000-135-2004-9)
Abdeckung, Starter (2098000-135-2004-10)
GCV 160 ( 2004 / 2098000-160- )
GXV
Kawasaki
Zubehör
Impressum
(C) by motoruf