Zurück zu
>
Mäher
>
Benzin
>
Antrieb ab 43 cm
>
Esprit
>
Esprit 46 HA ( 2005 / 4609000-A )
>
GCV 135 A2 ( 2004 / 2098000-135- )
>
Ölwanne (2098000-135-2004-2)
Ersatzteillisten für Wolf Mäher Ölwanne (2098000-135-2004-2)
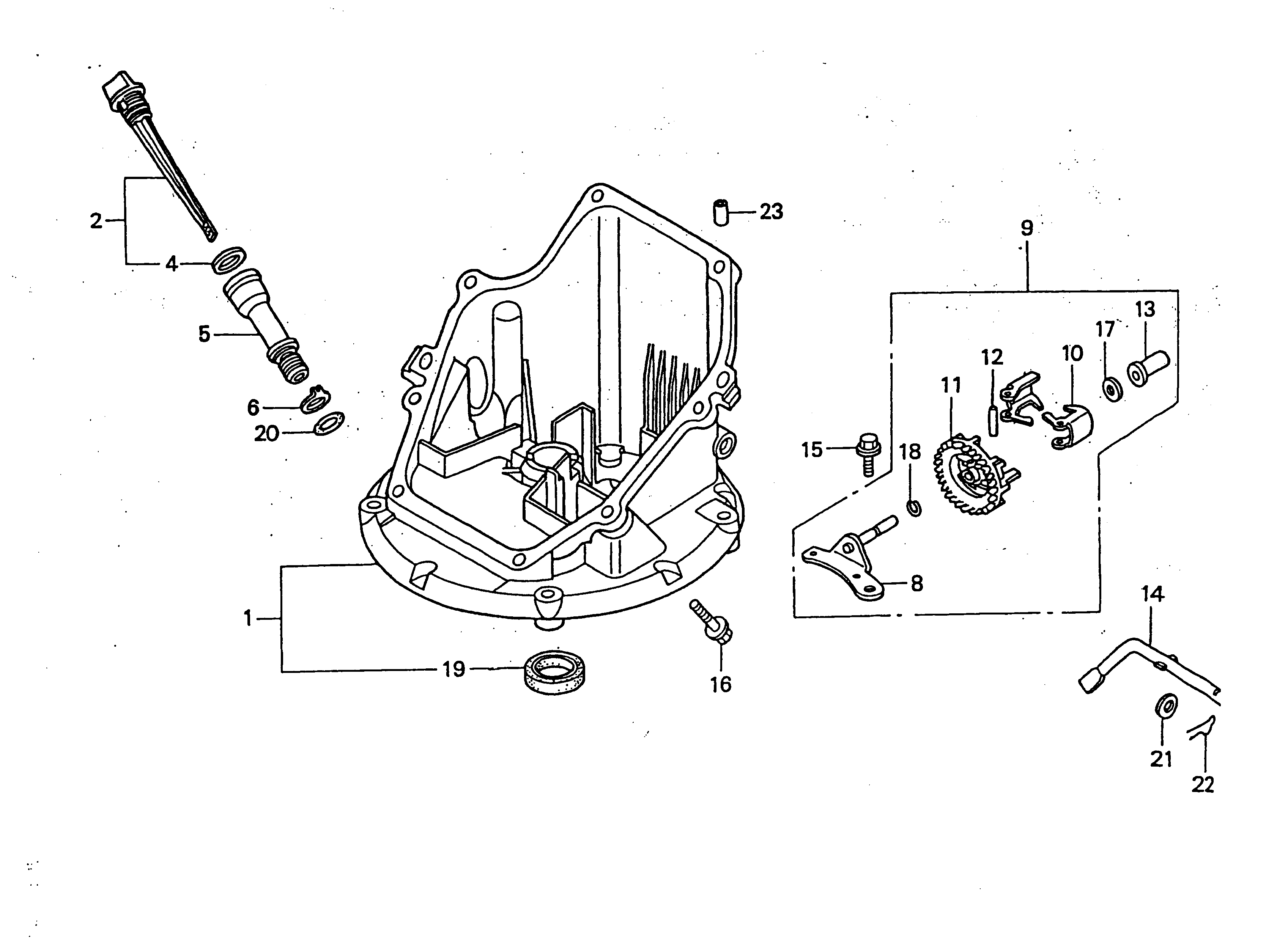
Pos.
Bezeichnung
Ersatzteilnummer
1
Ölwanne
2098 309
2
Ölmeßstab
2098 375
4
Dichtung-Meßstab
2098 311
5
Öleinfüllrohr
2098 410
6
Scheibe
2098 135
8
Halter
2098 415
9
Regler kpl.
2098 028
10
Reglergewicht
2098 416
11
Reglerverzahnung
2098 417
12
Stift, Reglergewicht
2098 134
13
Gleitbuchse
2098 139
14
Reglerarm
2098 418
15
Schraube
2098 106
16
Schraube
2098 110
17
Druckscheibe
2098 115
18
Klemme
2098 117
19
Dichtung-Ölrohr
2098 319
20
O-Ring
2098 321
21
Scheibe
2098 123
22
Stift
2098 125
23
Paßstift
2098 126
Gebrauchsanweisungen
Wolf
Handgeräte
Heckenscheren
Universalscheren
Handgrasscheren
Astscheren
Baumscheren
Baumpflege
Beleuchtungssysteme
Accuscheren
Häcksler
Sägen
Trimmer
Spindelmäher
Streuwagen / Portax
Schlauchwagen
Vertikutierer / Lüfter / Aerifizierer
Mäher
Accu
Benzin
Schiebe bis 42 cm
Schiebe ab 43 cm
Antrieb bis 42 cm
Antrieb ab 43 cm
2er
4er
6er
Moto-Verte
Concept
Premio
Power Edition
Esprit
Esprit 46 BA ( 2001 / 4605000-A )
Esprit 46 B ( 2003 / 4601000-B, C )
Esprit 46 BA ( 2003 / 4605000-B, C, D )
Esprit 46 TMA ( 2003 / 4608000-A )
Esprit 46 BA ( 2004 / 4605000-E )
Esprit 46 TMA ( 2004 / 4608000-B )
Esprit 46 BA Fixspeed ( 2005 / 4603000-A )
Esprit 46 BA ( 2005 / 4605000-F )
Esprit 46 HA ( 2005 / 4609000-A )
Datenblatt (4609000a-2005-1)
Chassis (4609000a-2005-2)
Achse, Räder, Höhenverstellung (4609000a-2005-3)
Griff kpl. (4609000a-2005-4)
Motor, Messer (4609000a-2005-5)
Fangsack (4048000a-2006-6)
MK 40 (4011 075) Mulchkit (Mulchkit)
GCV 135 A2 ( 2004 / 2098000-135- )
Zylinder (2098000-135-2004-1)
Ölwanne (2098000-135-2004-2)
Kurbelwelle, Kolben (2098000-135-2004-3)
Ventile (2098000-135-2004-4)
Regelung (2098000-135-2004-5)
Vergaser (2098000-135-2004-6)
Polrad, Zündspule, Bremse (2098000-135-2004-7)
Kraftstoffbehälter (2098000-135-2004-8)
Luftfilter, Schalldämpfer (2098000-135-2004-9)
Abdeckung, Starter (2098000-135-2004-10)
Sonstige
Elektrostart / Touch&Mow
Elektro
Aufsitzmäher
Benzinmotoren
Zubehör
Impressum
(C) by motoruf