Zurück zu
motoruf
Warenkorb

Ersatzteillisten für Toro Roth / TORO Vergaser




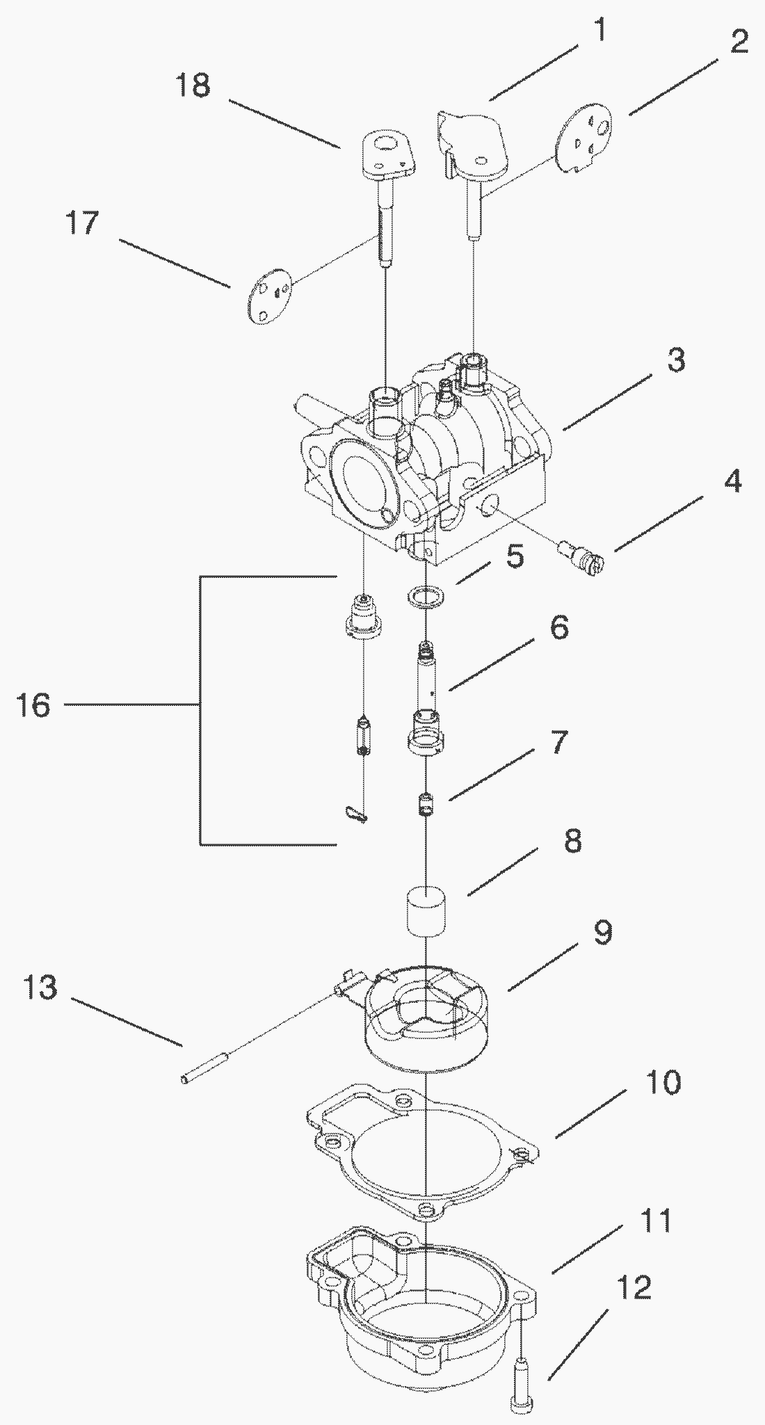
Ersatzteilliste


Pos.BezeichnungErsatzteilnummer
1Choke Welle94-5792
2Choke Klappe94-5788
5Washer612383
6Duesenstock98-7001
7Duese98-7010
8Kraftstofffilter94-5787
9Schwimmer Kpl.95-1899
10Dichtung Schwimmergeh.98-1362
11Schwimmertopf92-9691
12Screw608850
13Schwimmerstift92-6389
16Nadelsitz92-9697
17Disc-Throttle94-5704
18Drosselklappen Welle94-5791
Gebrauchsanweisungen
Toro
Impressum
(C) by motoruf