Zurück zu
motoruf
Warenkorb

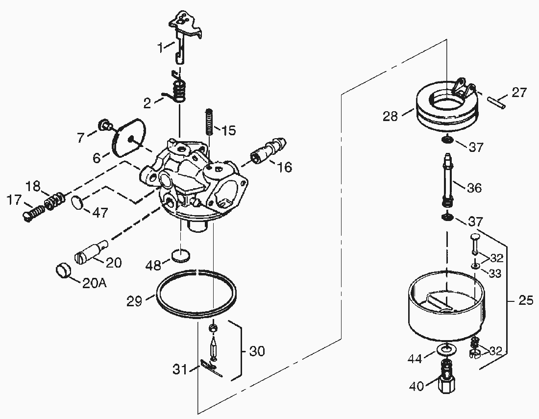
Ersatzteillisten für Toro Roth / TORO Vergaser Nr. 640081




Ersatzteilliste


Pos.BezeichnungErsatzteilnummer
1Drosselklappenachse31834
2Feder631767
6O.RING13,9X2,6 +437640070
7Schraube650506
15Druckfeder630735
16Anschlussstueck632164
17Schraube s651025
18Feder630766
20Duese640027
20Duesenkappe s640053
25Schwimmergehaeuse631951
27Haltestift631024
28Schwimmer632019
29Dichtring631028
30Schwimmerventil631021
31Klemmfeder631022
32Drain Plunger Assembly (Incl. Ref.27136A
33Dichtung27554
36Duesenstock s632745
37O-Ring s632547
40Schraube s640074
44Dichtung27110
47Plug, Welch630748
48Stopfen631027
Vergaser s640082
Gebrauchsanweisungen
Toro
Impressum
(C) by motoruf