Zurück zu
>
Roth / TORO
>
Handgeräte
>
Schneefräsen
>
einstufig
>
CR 1000
>
603/38195
>
2000001
>
Vergaser Nr. 632552
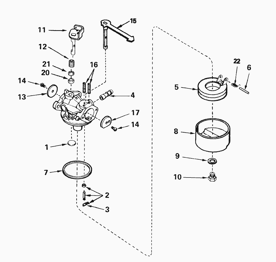
Ersatzteillisten für Toro Roth / TORO Vergaser Nr. 632552
Pos.
Bezeichnung
Ersatzteilnummer
1
Stopfen
631027
2
Schwimmerventil
631021
3
Klemmfeder
631022
4
Anschlussstueck
632164
5
Schwimmer
632019
6
Haltestift
631024
7
Dichtring
631028
8
Schwimmergehaeuse
631700
9
Dichtung
631334
10
Mutter
632385
11
Shaft & Lever Assy., Throttle
632130
12
Feder
632169
13
Shutter, Throttle
631036
14
Schraube
650506
15
Chokwelle
631553
16
Druckfeder
630735
17
Starterklappe
631815
20
Dichtring
631183
21
Scheibe
631184
22
Feder-Schwimmer
632386
Gebrauchsanweisungen
Toro
Roth / TORO
Aufsitzmäher
Handgeräte
Kehrmaschinen
Schneefräsen
Zubehör
zweistufig
einstufig
Snow Commander
CCR 3650 GTS
CCR 3000
CCR 2450
CCR 2400
CCR 2000
CR 1000
603/38196
603/38195
69000001
59000001
49000001
39000001
2000001
Motor Tecumseh Modell-Nr. HSK600 Typ 1681P (Modell-Nr. 38196)
Motor Tecumseh Modell-Nr. HSK600 Typ 1667P (Modell-Nr. 38195)
Starter Nr. 590537
Vergaser Nr. 632552
Holm
StarterMotor
Motor & Rahmen
Rotor
Rotorgehäuse
oberer Abdeckung (Fortsetzung)
oberer Abdeckung
1000001
0000001
603/38191
CR 20
CR 20 R
S 620
S 200
CCR Powerlite
Sauger/Bläser
Rasenmäher
Robin
Impressum
(C) by motoruf