Zurück zu
>
Roth / TORO
>
Handgeräte
>
Schneefräsen
>
zweistufig
>
521
>
622/38035
>
7000001
>
Vergaser Nr. 632378
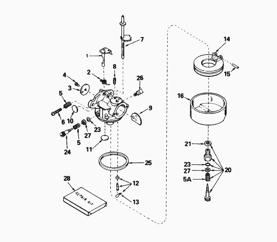
Ersatzteillisten für Toro Roth / TORO Vergaser Nr. 632378
Pos.
Bezeichnung
Ersatzteilnummer
Adj. Screw Assy., Main (Incl.
*31839
Inlet Needle, Seat & Clip Assy. (Incl.
*631021
Pos.
Bezeichnung
Ersatzteilnummer
1
Achse
631615
2
Feder
631767
3
Shutter, Throttle
631036
4
Schraube
650506
5
Feder
630766
5
Spring, Adjustment Screw
630738
6
Schraube
650417
7
Chokerwelle
632373
8
Druckfeder
630735
9
Drosselklappe
632372
10
Plug, Welch
*630748
11
Plug, Welch
*631027
13
Clip-Inlet Needle
631022C
14
Schwimmer
632019
15
Shaft, Float
*631024
16
Schwimmergehaeuse
631867
21
Dichtung
27110
23
O Ring, Adjustment Screw
*630740
24
Screw, Idle Adjustment
*631078
25
Gasket, Bowl-to-body
*631028
26
Winkelstueck
631775
27
Scheibe
630739
28
Reparatursatz
31840
Gebrauchsanweisungen
Toro
Roth / TORO
Aufsitzmäher
Handgeräte
Kehrmaschinen
Schneefräsen
Zubehör
zweistufig
1332 PowerShift
1232 PowerShift
1132 PowerShift
1132
1028 PowerShift
924 PowerShift
828 PowerShift
824 PowerShift
824 XL
824
724
624 PowerShift
622
521
622/38054
622/38035
9000001
8000001
7000001
Rücklaufstarter Nr. 590604
Vergaser Nr. 632378
Motor Tecumseh (Modell H35-45598R) (Fortsetzung)
Motor Tecumseh (Modell H35-45598R)
Beleuchtungssatz Nr. 54-9821 (wahlw.)
Startermotor Nr. 33290C
Graderschild Modell 59099 (wahlw.)
Seiten-Schneidschiene Nr. 37-7020 (wahlw.)
Holm
Motor
Antrieb
Trommel (Fortsetzung)
Trommel
6000001
5000001
4000001
3521
einstufig
Sauger/Bläser
Rasenmäher
Robin
Impressum
(C) by motoruf