Zurück zu
>
Roth / TORO
>
Handgeräte
>
Schneefräsen
>
zweistufig
>
521
>
622/38054
>
5900001
>
Vergaser Nr. 632107A
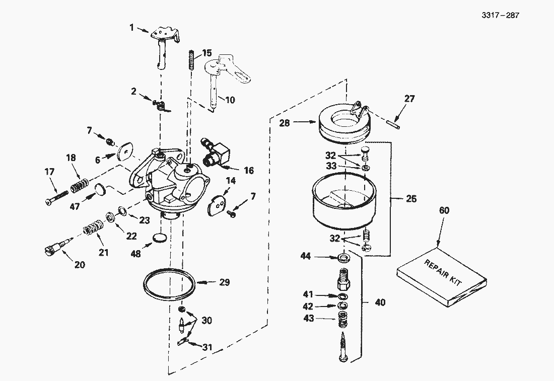
Ersatzteillisten für Toro Roth / TORO Vergaser Nr. 632107A
Pos.
Bezeichnung
Ersatzteilnummer
Screw Adjustment Assembly (Incl. Ref.
31839à
Drain Plunger Assembly (Incl. Ref.
27136A
Carburetor (Incl. Ref.
632107A
Pos.
Bezeichnung
Ersatzteilnummer
1
Achse
631615
2
Feder
631767
6
Shutter, Throttle
631036
7
Schraube
650506
10
Shaft & Lever Assy.-Choke
632108
14
Starterklappe
631815
15
Druckfeder
630735
16
Nippel
631807
17
Schraube
650417
18
Feder
630766
20
Screw-Idle
631838à
21
Feder
630766
22
Scheibe
630739
23
O Ring
630740à
25
Schwimmergehaeuse
631951
27
Shaft-Float
631024à
28
Float-Carburetor
632019à
29
Dichtring
631028
30
Schwimmerventil
631021
31
Klemmfeder
631022
33
Dichtung
27554
41
O Ring
630740à
42
Scheibe
630739
43
Spring, Adjustment Screw
630738
44
Washer-Bowl Nut
27110à
47
Plug-Welch
630748à
48
Plug-Welch
631027à
60
Reparatursatz
31840
Gebrauchsanweisungen
Toro
Roth / TORO
Aufsitzmäher
Handgeräte
Kehrmaschinen
Schneefräsen
Zubehör
zweistufig
1332 PowerShift
1232 PowerShift
1132 PowerShift
1132
1028 PowerShift
924 PowerShift
828 PowerShift
824 PowerShift
824 XL
824
724
624 PowerShift
622
521
622/38054
6900001
5900001
Vergaser Nr. 632107A
Rücklaufstarter Nr. 590646
Motor Tecumseh (Modell HSSK50-67259N) (Fortsetzung)
Motor Tecumseh (Modell HSSK50-67259N)
Holm (Fortsetzung)
Holm
Motor
Antrieb (Fortsetzung)
Antrieb
Trommel
Trommel (Fortsetzung)
4900001
3900001
2000001
1000001
0000001
622/38035
3521
einstufig
Sauger/Bläser
Rasenmäher
Robin
Impressum
(C) by motoruf