Zurück zu
>
Roth / TORO
>
Handgeräte
>
Schneefräsen
>
zweistufig
>
824
>
612/38080
>
4000001
>
Starter Motor 110 V Nr. 37-4810 (Canada)
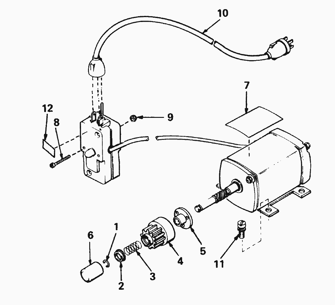
Ersatzteillisten für Toro Roth / TORO Starter Motor 110 V Nr. 37-4810 (Canada)
Pos.
Bezeichnung
Ersatzteilnummer
Cord, Extension
32450A
Pos.
Bezeichnung
Ersatzteilnummer
1
Reduzierring (5)
33842
2
Retainer, Spring
33430
3
Spring, Anti-drift
33431
4
Gear
33432
5
Nut, Engaging
33433
6
Cover, Dust
33451
7
Decal
34180
8
Screw, Hex Hd. Self Tap
650741
9
Nut & Lockwasher
650742
11
Schraube
30063
12
Decal
34161
Gebrauchsanweisungen
Toro
Roth / TORO
Aufsitzmäher
Handgeräte
Kehrmaschinen
Schneefräsen
Zubehör
zweistufig
1332 PowerShift
1232 PowerShift
1132 PowerShift
1132
1028 PowerShift
924 PowerShift
828 PowerShift
824 PowerShift
824 XL
824
612/38080
8000001
7000001
6000001
5000001
4000001
Rücklaufstarter Nr. 590479
Zündspule Nr. 610848
Vergaser Nr. 632334
Motor Tecumseh (Modell-Nr. HM 80-155169J) (Fortsetzung)
Motor Tecumseh (Modell-Nr. HM 80-155169J)
Graderschild Modell 59099
Wetterschutz Modell 42-3380
Starter Motor 110 V Nr. 37-4810 (Canada)
Holm (Fortsetzung)
Holm
Motor
Antrieb
Antrieb (Fortsetzung)
Trommel (Fortsetzung)
Trommel
3900001
2000001
724
624 PowerShift
622
521
3521
einstufig
Sauger/Bläser
Rasenmäher
Robin
Impressum
(C) by motoruf