Zurück zu
>
Roth / TORO
>
Aufsitzmäher
>
Rider
>
11-32
>
375/70142
>
79000001
>
Sitz
Ersatzteillisten für Toro Roth / TORO Sitz
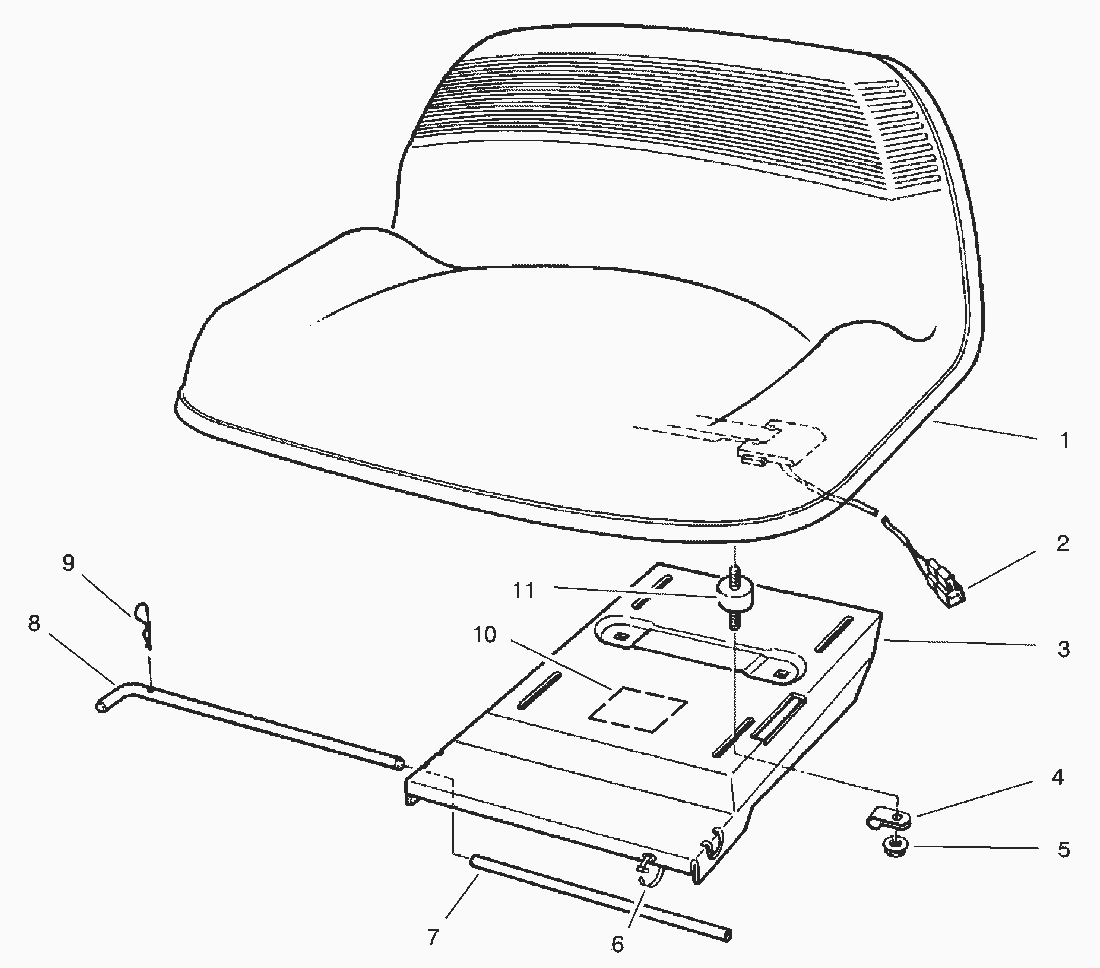
Pos.
Bezeichnung
Ersatzteilnummer
1
Fahrersitz
88-3950
2
Schalter
38-1420
3
Base-Seat
63-5540
4
Klemme
2412-68
5
Mutter
32128-20
6
Tie Wrap
3290-378
7
Rohr
63-5670
8
Gestaenge
80-2620
9
Stift
3290-307
10
Klebeschild
114621
11
Gummipuffer
62-5480
Gebrauchsanweisungen
Toro
Roth / TORO
Aufsitzmäher
Traktor
Rider
HMR 1600
12-32 E
12-32
11-32
375/70142
79000001
Motor B&S (Modell 28D707-0124-01)
Peerlesss Getriebeachse Modell-Nr. 915-019
Deflektor - Recycler
Mäher - Recycler (Fortsetzung)
Mäher - Recycler
Ständer
Hinterachse
Motor
Getriebegestänge
Sitz
Sitz & Seitenverkleidung
Gestänge
Lenkrad, Schalter & Schilder
Bremse & Kupplung
Vorderachse
Lenksäule
69000001
59000001
10-32 E
8-25
110-4E
110-4
Mähwerke
Zubehör
Handgeräte
Robin
Impressum
(C) by motoruf