Zurück zu
>
Roth / TORO
>
Aufsitzmäher
>
Traktor
>
212-H
>
303/R2-12OE01
>
1000001
>
Sitz
Ersatzteillisten für Toro Roth / TORO Sitz
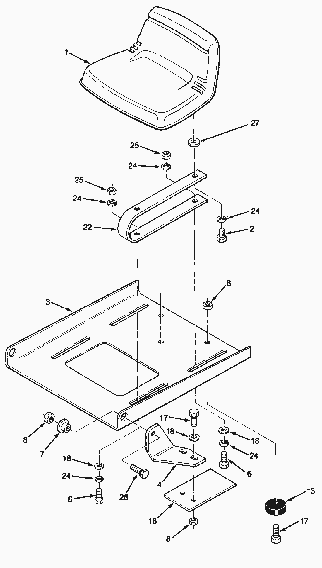
Pos.
Bezeichnung
Ersatzteilnummer
1
Seat
76-0670
2
Schraube
322-5
3
Plate-Seat Pivot
113852
4
Haltewinkel
112745
Pivot Bracket-R.H.
112744
6
Schraube
322-4
7
Flanschbuechse
105503
8
MUTTER
3296-29
13
Stossdaempfer
108889
16
Plate
112961
17
Schraube
322-5
18
Scheibe
3256-23
22
Seat Spring
112837
24
Federring
3253-4
25
Mutter
3217-6
26
Schraube
322-6
27
Buechse
109989
Gebrauchsanweisungen
Toro
Roth / TORO
Aufsitzmäher
Traktor
264-6
246 HE
244-5
212-H
303/R2-12OE02
303/R2-12OE01
1000001
Schilder & Verschiedenes
Motor Vergaser
Motor Starter
Motor Schwungrad & Abdeckung
Motor Regler Gestänge & Abdeckung
Motor Luftfilter
Motor Zündung
Motor Zylinderkopf & Ventile
Motor Ölwanne & Pumpe
Motor Kurbelwelle & Nockenwelle
Motor Zylinderblock
Motor & Auspuff
Motor-Riemenscheibe & Zapfwellenkupplung
Bremse & Spannrolle (212-H)
Getriebegestänge (212-H)
Bürsten Zapfwelle (212-H)
Getriebe (212-H)
Bremse & Spannrolle (212-5)
Bürsten Zapfwelle (212-5)
Peerlesss Getriebe Modell-Nr. 930-020 (212-5)
Getriebe (212-5)
Rad & Reifen
Vorderachse & Lenkung
Elektrik
Rahmen
Rahmen
Sitz
212-5
17-44 HXLE
16-44 HXL
16-38 HXL
16-38 XLE
15-44 HXL
15-38 HXL
14-38 HXL
14-38 XL
13-38 HXL
13-38 XL
13-32 XLE
12-38 HXL
12-38 XL
12-32 XL
264 H
265 H
267 H
268 H
270 H
520 xi
520 Lxi
523 Dxi
Rider
Mähwerke
Zubehör
Handgeräte
Robin
Impressum
(C) by motoruf