Zurück zu
>
Roth / TORO
>
Aufsitzmäher
>
Rider
>
11-32
>
375/70142
>
59000001
>
Motor B&S (Modell 28D707-0124-01)
Ersatzteillisten für Toro Roth / TORO Motor B&S (Modell 28D707-0124-01)
Ersatzteilliste 1
Ersatzteilliste 2
Ersatzteilliste 3
Ersatzteilliste 4
Ersatzteilliste 5
Ersatzteilliste 6
Ersatzteilliste 7
Ersatzteilliste 8
Pos.
Bezeichnung
Ersatzteilnummer
Ring Set-Piston-.020 O.S. 25 1_366010 1 38160 Ring Set-Piston-.020 O.S.
391782
Ring Set-Piston-.030 O.S. 26 1_366010 1 38160 Ring Set-Piston-.030 O.S.
391783
Piston Assy.-.030 O.S. 24 _8790030 1 S2-12B502 Piston Assy.-.030 O.S.
394664
Piston Assy.-.010 O.S. 22 _8790030 1 S2-12B502 Piston Assy.-.010 O.S.
394662
Gasket-Crkcse Cover, 1/64 Thick 12 10 _8790030 1 S2-12B502 Gasket-Crkcse Cover, 1/64 Thick
271916
Pin Assembly-Piston-.005 O.S. 29 1_366010 1 38160 Pin Assembly-Piston-.005 O.S.
391286
Connecting Rod (020 U.S. Crankpin Bore) 60 5834A025 1 71140 Connecting Rod (020 U.S. Crankpin Bore)
490469
Piston Assy.-.020 O.S. 23 _8790030 1 S2-12B502 Piston Assy.-.020 O.S.
394663
Pos.
Bezeichnung
Ersatzteilnummer
1
Zylinder
496413
2
Sieb
399265
3
Seal-Oil
391086
5
Zylinderkopf
494240
7
Gasket-Cylinder Head
271866
8
Entluefter
495735
9
Dichtung t
27803
10
Schraube
94621
11
Tube-Breather
281246
13
Schraube
94622
13
Stud-Cylinder Head
94776
225
Reglerhebel
495157
227
Reglerhebel
493935
230
Scheibe
94742
305
Screw-Hex. Washer Hd.
94786
306
Shield-Cylinder
224545
307
Screw-Self Tap
94386
308
Cover-Cylinder Head
491490
332
Nut-Hex.
94314
337
Zuendkerze
802592
353
Washer-Lock
94315
383
Wrench-Spark Plug
89838
523
Oelmess-Stab
495229
524
Seal-Filler Tube
68838
525
Tube-Oil Filler
496068
552
Bushing-Gov. Crank
231597
562
Bolzen
92613
592
Mutter
231082
614
Splint
93306
634
Dichtring
491323
635
Elbow-Spark Plug
66538
663
Screw-Sem
94073
668
Distanzbuechse
231109
842
Seal-Oil Filler Cap
270920
847
Oelmesst. M. Rohr
496367
869
Einlassventil
261463
870
Seat-Exhaust Valve (Std.)
213316
871
Ventilfuehrung
261961
1019
Label Kit
491254
1058
Owner s Manual
272697
Pos.
Bezeichnung
Ersatzteilnummer
Dichtung - 005
271997
Dichtung - 009
271996
15
Plug-Oil Drain
94239
16
Crankshaft
495162
18
Oelwanne Incl.Dicht.+Wedi
494238
20
Seal-Oil
291675
22
Screw-Base Mtg. Sem
94624
24
Key-Flywheel
222698
25
Kolben
394661
26
Ringsatz
391780
Ring Set (Chrome Std.)
392331
Kolbenringsatz 010
391781
27
Kolbenbolzensicherung
260924
28
Kolbenbolzen
299691
29
Pleuelstange
490348
32
Screw-Connecting Rod
94671
33
Valve-Exhaust
262246
34
Valve-Intake
262247
35
Ventilfeder
65906
36
Spring-Exhaust Valve
26828
40
Retainer-Intake Valve
221596
41
Drehkappe
292260
42
Halter
494553
45
Ventilstoessel
262248
46
Nockenwelle
212897
219
Reglerrad
490815
741
Gear-Timing
262932
757
Link-Counterweight
213998
758
Counterweight Assy.
399891
759
Kolbenbolzen
298909
761
Screw-Counterweight
94593
1020
Eccentric
262243
1021
Pin-Eccentric
94853
Pos.
Bezeichnung
Ersatzteilnummer
51
Gasket-Carb (Carb to Elbow)
272465
52
Gasket-Carburetor Mtg.
272554
53
Stud-Carb Mtg
94637
93
Bushing-Throttle
281346
95
Schraube
94098
98
Duese
495800
104
Pin-Float Hinge
231789
105
Valve Assy.-Inlet Needle
231855
106
Inlet Valve Seat
231854
108
Valve-Choke
224666
118
Duese
496589
123
Screw-Elbow Mtg
94616
125
Carburetor
496592
127
130
Drosseklappe
224668
131
Drosselklappenwelle
494885
133
Schwimmer
494381
137
Gasket-Float Bowl
281165
138
Washer-Float Bowl Screw
281164
141
Chokehebel
495931
142
Duese
496519
147
Duese
497472
164
Carburetor-Elbow
213819
611
Elbow-Fuel Pipe
493496
618
Feder
262803
634
Dichtung
281168
955
Screw-Fuel Bowl
94642
965
Stopmutter
94010
975
Bowl Assy-Carb
494378
987
Dichtung
281166
Pos.
Bezeichnung
Ersatzteilnummer
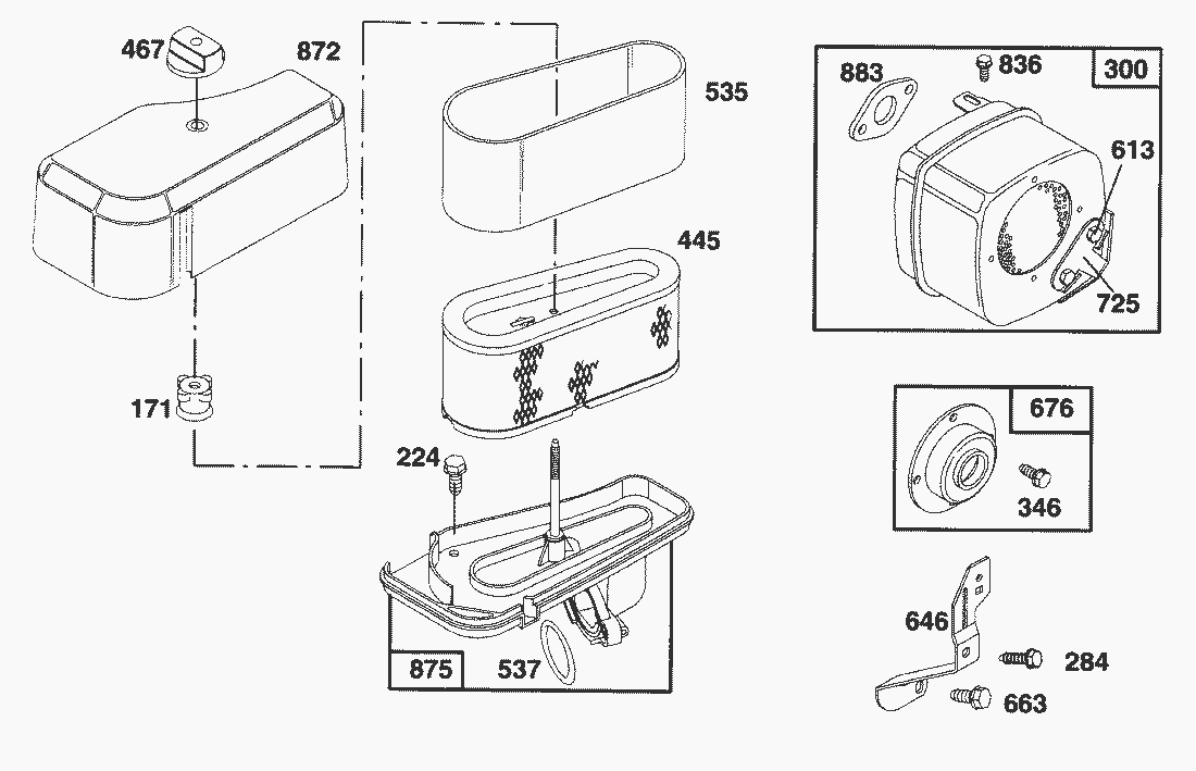
171
Nut-Air Cleaner Mtg
281051
224
Screw-Air Cleaner Sem
94729
284
Screw Hex. Head
94704
300
Auspuff
491413
346
Schraube
93705
445
Cartridge-Air Cleaner
493910
467
Knob-Air Cleaner
493903
535
Element-Air Cleaner
272477
537
O-Ring
281106
613
Schraube
93927
646
Brace-Air Cleaner
224546
663
Screw-Clamp Mtg.
94620
676
Ausweisblech
396903
725
Shield-Muffler
223023
836
Screw-Hex. Washer Hd.
94786
872
Cover-Air Cleaner
281105
875
Luftfiltergehaeuse
496368
883
Auspuffdichtung (10)
272293
Pos.
Bezeichnung
Ersatzteilnummer
182
Bracket-Fuel Tank (R.H.)
223925
182
Bracket-Fuel Tank (L.H.)
223866
188
Screw-Sem
94480
201
Link-Governor
262767
209
Spring-Governor
260871
216
Gestaenge
262766
222
Plate-Governor Control
495611
232
Feder
262785
265
Clamp, Casing
221535
482
Screw-Sem
93621
527
Klammer
221428
657
Screw, Sem
93496
683
Screw-Hex
93572
877
Diode
393814
887
Stator Assy.-Alternator
391529
Pos.
Bezeichnung
Ersatzteilnummer
23
Schwungrad
492326
37
Guard-Flywheel
224502
78
Screw
94626
75
Washer-Spring
224061
188
Schraube
94627
305
Screw-Sem
94863
304
Housing-Blower
496319
332
Nut-Flywheel
92284
333
Zuendanlage
492341
334
Screw-Armature Mounting
94731
356
Wire-Ground
494328
363
Puller-Flywheel(Optional Accessory)
19203
455
Mitnehmer
222561
468
Screen-Rotating
224517
668
Spacer
280848
726
Gear-Flywheel Ring (Includes Mounting Parts)
392134
729
Clip-Relief
281159
851
Terminal-Ignition Cable
493880
1005
Fan-Flywheel
280687
1006
Mitnehmerblech
224413
Pos.
Bezeichnung
Ersatzteilnummer
309
Motor & Drive Assembly
394805
310
Bolt
94003
311
Kohlensatz
395538
510
Starterritzel
495878
513
Clutch Assembly
398003
544
Armature Assembly
390837
783
Gear
280104
801
Deckel
394856
802
Deckel
395537
803
Housing Assembly
398159
876
Starterritzel (satz) top
495877
896
Spannstift
94288
Pos.
Bezeichnung
Ersatzteilnummer
121
Vergaser-Reparatursatz
497481
358
Dichtungssatz
494241
524
Seal-Filler Tube
281370
977
Dichtungs-Satz
494385
Gebrauchsanweisungen
Toro
Roth / TORO
Aufsitzmäher
Traktor
Rider
HMR 1600
12-32 E
12-32
11-32
375/70142
79000001
69000001
59000001
Motor B&S (Modell 28D707-0124-01)
Peerlesss Getriebeachse Modell-Nr. 915-019
Mäher -Recycler
Ständer
Hinterachse
Motor
Getriebegestänge
Sitz
Sitz & Seitenverkleidung
Gestänge
Lenkrad, Schalter & Schilder
Bremse & Kupplung
Vorderachse
Lenksäule
10-32 E
8-25
110-4E
110-4
Mähwerke
Zubehör
Handgeräte
Robin
Impressum
(C) by motoruf