Zurück zu
motoruf
Warenkorb

Ersatzteillisten für Toro Roth / TORO Motor (B&S Modell 123607-0153-E1)


Ersatzteilliste 1
Ersatzteilliste 2
Ersatzteilliste 3
Ersatzteilliste 4
Ersatzteilliste 5
Ersatzteilliste 6
Ersatzteilliste 7
Ersatzteilliste 8
Ersatzteilliste 9
Ersatzteilliste 10
Ersatzteilliste 11


Ersatzteilliste


Pos.BezeichnungErsatzteilnummer
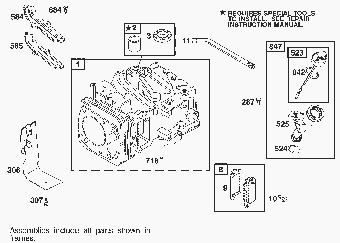
1Zylinder99-0900
2Bushing99-0911
3Seal-Oil77-9060
8Entlueftungsventil77-9260
9Dichtung99-0913
10Schraube99-0914
11Entlueftungsschlauch99-0915
523Dipstick100-9146
306Reglerhebel99-0917
842O-Ring77-7270
524O.Ring77-7300
307Schraube99-0920
585Dichtung77-7410
525Rohr F. Oelmesstab99-0906
718Dowel-Sleeve77-7600
584Baffle-Cylinder99-0922
847Rohr F. Oelmessstab98-9209
684Schraube99-0920
287Schraube99-0927
Ersatzteilliste


Pos.BezeichnungErsatzteilnummer
5Zylinderkopf99-0929
7Zylinderkopfdichtung99-0930
13Schraube99-0931
33Auslassventil99-0932
34Einlassventil99-0933
35Ventilfeder99-0934
40Ventilteller99-0935
45Ventilstoessel99-0936
155Kopfplatte99-0938
189Ball-Rocker Arm99-0939
238Ventilkappe99-0940
914Screw-Rocker Cover100-9147
337Zuendkerze77-7330
383Wrench-Spark Plug99-0944
635Zuenkerzenkappe77-9190
830Stehbolzen99-0945
619Schraube99-0941
868Dichtring99-0946
883Auspuffdichtung99-0947
36Ventilfeder99-0934
1022Gasket-Rocker Cover99-0907
1023Ventildeckel98-9211
1026Stoesselstange99-0949
1029Arm-Rocker99-0950
1034Guide-Push Rod99-0951
993DICHTUNG99-6264
51Dichtung99-0968
122Dichtung99-0978
Ersatzteilliste


Pos.BezeichnungErsatzteilnummer
4Oelwanne99-0952
12Oelwannendichtung99-0953
15Oelablasstopfen99-0954
16Crankshaft98-9214
24Keil77-8340
20Seal-Oil99-0955
22Schwungradkeil99-0957
25Kolben99-0958
26Kolbenringsatz99-0959
27Bolzensicherung99-0960
28Pin-Piston (Standard)99-0961
29Pleuel99-0962
32Screw-Connecting Rod99-0963
43Reglerzahnrad99-0964
46Nockenwelle99-0965
146Keil99-0966
741Zahnrad99-0967
Ersatzteilliste


Pos.BezeichnungErsatzteilnummer
95Schraube99-0969
104Schwimmerstift99-0970
117Jet-Main (Std.) Note: 99-1041 Jet-Main(High Altitude) 199-0971
708Seal-Dust100-5037
125Carburetor99-0973
130Drosselklappe99-0974
131Drosselachse99-0975
276Washer-Sealing100-5038
134Valve-Float (Includes Seat)77-8110
163Gasket-Air Cleaner99-0976
975Schwimmerkappe99-0977
133Schwimmer77-8170
365Schraube99-0972
127Zuendkerzenschluessel100-9107
137Gasket-Float Bowl104-7550
Ersatzteilliste


Pos.BezeichnungErsatzteilnummer
222Vergaser Kontrollplatte100-2891
910Stud-Stator Mounting99-1014
202Reglergestaenge99-0981
188Schraube100-5031
745Schraube99-0983
474Ladespule99-1011
356Kurzschlusskabel99-1007
334Schraube99-1006
935Switch-Interlock100-9109
851Terminal-Spark Plug77-9450
333Zuendspule99-1005
922Bremsfeder99-0987
923Brake Assembly99-0988
621Switch-Stop99-0986
1160Schraube77-9520
227Reglerhebel99-0917
404Scheibe99-0918
562Screw-Hex.99-0921
505Nut-Hex.99-0924
615Sicherungsscheibe99-0925
616Reglerachse99-0926
209Reglerfeder99-0982
1119Schraube104-7551
Ersatzteilliste


Pos.BezeichnungErsatzteilnummer
467Knob-Air Cleaner100-9108
677Schraube100-9148
836Schraube94-1674
968Luftfilterdeckel98-9207
445Filterpatrone98-9212
966Ansaugstutzen99-0979
613Schraube99-1047
836Schraube99-0999
300Auspuff99-0995
259Kabeltuelle99-0984
967Vorfilter99-0989
676Deflektor99-1044
832Auspuffschutz98-9206
613Schraube99-0941
443Schraube99-0990
976Primer99-0991
Ersatzteilliste


Pos.BezeichnungErsatzteilnummer
23Schwungrad99-1001
332Mutter94-1673
65Schraube99-1002
304Luefterblech99-1003
930Luefterhaube98-9203
1036Label Kit-Emission99-1016
1005Luefterrad99-1015
326Schraube98-9204
363Puller-Flywheel99-1008
592Nut-Hex.99-1009
455Starterglocke99-1010
305Schraube99-0941
Ersatzteilliste


Pos.BezeichnungErsatzteilnummer
55Startergehaeuse99-1048
58Rope-Starter (Cut To Suit)94-1668
592Mutter100-9149
60Startergriff77-8510
1210Seilscheibe Mit Feder94-1657
1211Seilscheibe Mit Feder94-1657
456Deckel94-1659
459Starterklinke94-1654
597Screw-Rewind Starter94-1660
689Spring-Torsion94-1655
608Ruecklaufstarter98-9215
Ersatzteilliste


Pos.BezeichnungErsatzteilnummer
3Seal-Oil99-0912
1095Valve Overhaul Gasket Set100-5033
977Vergaser-Dichtungssatz100-5034
358Engine Overhaul Gasket Set100-5035
121Vergaser-Reparatur-Satz100-5036
585Sicherungsscheibe99-0925
993Gasket-Plate99-0948
Ersatzteilliste


Pos.BezeichnungErsatzteilnummer
309E-Starter Fuer Gts 15077-8670
310Screw-Slotted Hex.99-1019
510Drive Kit77-8910
513Starterkupplung99-1021
544Armature-Starter99-1022
545Washer Set77-8740
651Screw-Hex.99-1017
697Schraube99-1018
742Retainer-Lock77-8830
783Gear-Starter99-1023
783Gear-Starter99-1024
784Cover-Gear99-1025
785Gasket-Cover99-1026
801Cap-Drive99-1027
802Starterendkappe99-1028
803Startergehaeuse99-1029
937Spline-Starter99-1030
Ersatzteilliste


Pos.BezeichnungErsatzteilnummer
601Clamp-Fuel Hose78-4690
674Schraube98-9202
182Bracket-Tank Mounting98-9205
187Benzinschlauch99-0992
1059Schraube99-0993
190Schraube99-0994
670Spacer-Fuel Tank99-0997
972Benzintank99-1000
Gebrauchsanweisungen
Toro
Impressum
(C) by motoruf