Zurück zu
>
Roth / TORO
>
Handgeräte
>
Rasenmäher
>
4-Takt Radantrieb
>
477
>
260000
>
Getriebe
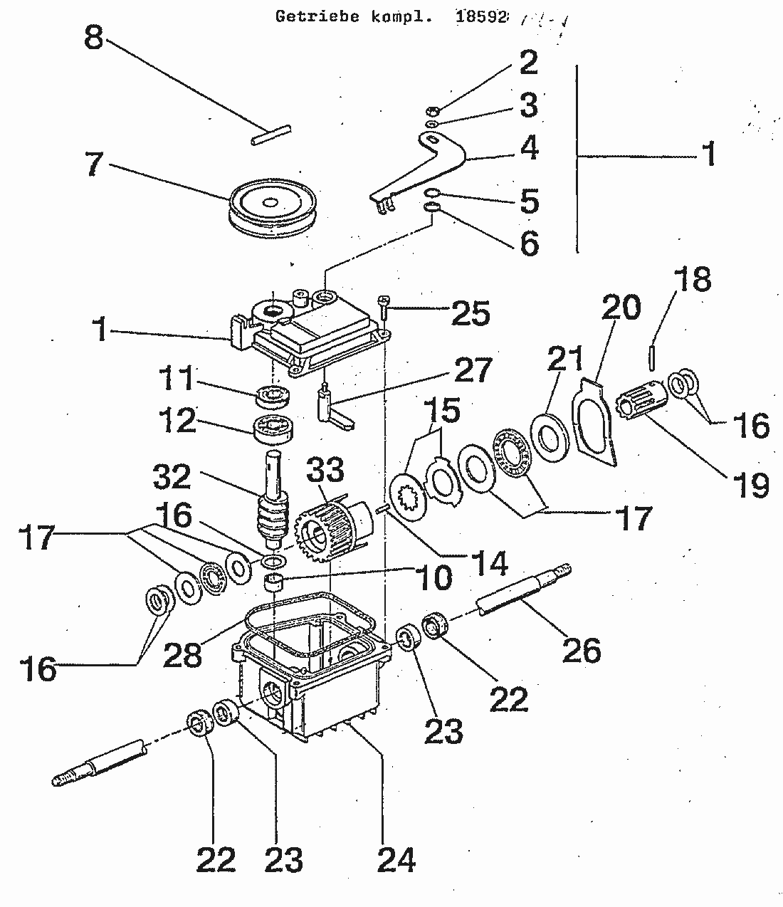
Ersatzteillisten für Toro Roth / TORO Getriebe
Pos.
Bezeichnung
Ersatzteilnummer
1
GETRIEBEDECKEL
18128
2
MUTTER
13041
3
SCHEIBE
13043
4
HEBEL
18129
5
SCHEIBE (ALU)
18130
6
O-RING
18131
7
RIEMENSCHEIBE
18466
8
KERBSTIFT
18109
10
LAGERBUCHSE
18134
11
WELLENDICHTRING
18135
12
LAGER
18136
14
SPANNHUELSE
18138
15
KUPPLUNGSSCHEIBEN-SATZ
18139
16
SGLEICHSSCHEIBEN-SATZ
18140
17
AXIALLAGER-SATZ KOMPL.
18141
18
SPANNHUELSE
07211
19
MITNEHMER
18142
20
KUPPLUNGSSCHALTGABEL
18143
21
SCHEIBE
18144
22
WELLENDICHTRING
18145
23
NADELLAGER
18146
24
GETRIEBEGEHAEUSE
18147
25
LINSENSCHRAUBE
07673
26
ANTRIEBSWELLE
18668
27
HEBEL
18150
28
DECKELDICHTUNG
18151
32
SCHNECKE
18376
33
SCHNECKENRAD KOMPL.
18670
Gebrauchsanweisungen
Toro
Roth / TORO
Aufsitzmäher
Handgeräte
Kehrmaschinen
Schneefräsen
Sauger/Bläser
Rasenmäher
Grasfangvorrichtungen
4-Takt Radantrieb
498/26638
498/26633
498/26633 B
498/26631 B
496/26639
496/26636
496/26636 B
496/26635 BC
496/26625 BG
495/26637
495/26632
495/26632 B
495/26630 BC
495/26630 BG
495/26620 BG
494/20784
494/20791
493/20783
493/20789
492/20787
492/20778
491/20786
491/20777
491/20328 B
490/20327 B
489/20927 B
489/20926 B
489/20925
488/20920
487/20914
487/20909 BC
487/20905
479
477
350000
335000
330000
320000
310000
300000
290000
280000
270000
260000
Getriebe
Motor B&S
Mäher (komplett)
250000
469
465/20781
465/20779
464
459/20824
459/20821
459/20821 B
459/20820 BC
458/20823
458/20822
457
456/20808
456/20808 B
456/20807 BC
456/20806 B
455/20803
455/20803 B
455/20802 BC
455/20801 B
453
449
439
437/22173
437/22157
437/22154
437/22154 B
437/22153 BC
434
424
421/20652
417/20832
417/20829
417/20827
416/20831
416/20828
416/20826
415/20817
415/20811
4-Takt
2-Takt Radantrieb
2-Takt
Elektro
Akku
Robin
Impressum
(C) by motoruf