Zurück zu
>
Roth / TORO
>
Aufsitzmäher
>
Rider
>
8-25
>
372/70122
>
210000001
>
Differential
Ersatzteillisten für Toro Roth / TORO Differential
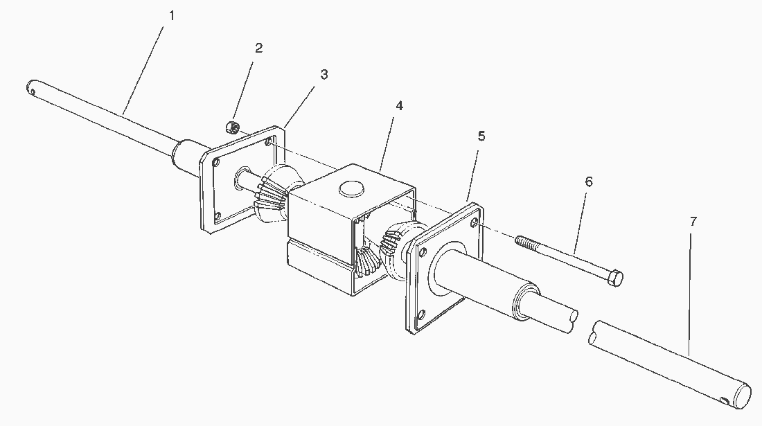
Pos.
Bezeichnung
Ersatzteilnummer
1
Steckachse R.
55-7762
2
Mutter
32152-1
3
Achsschenkel
55-7770
4
Achsgehaeuse
55-7780
5
Achsschenkel
55-7771
6
Schraube
322-22
7
Steckachse L.
55-7763
Differential
56-9960
Gebrauchsanweisungen
Toro
Roth / TORO
Aufsitzmäher
Traktor
Rider
HMR 1600
12-32 E
12-32
11-32
10-32 E
8-25
372/70122
210000001
Motor B&S (Modell 195707-0421-E1)
Getriebe (Peerlesss Modell 700-025)
Schneideinheit
Differential
Hinterachse
Elektro-Schaltplan
Motor
Getriebe & Gestänge (Fortsetzung)
Getriebe & Gestänge
Heckteil
Vorderachse
Sitz & Kraftstofftank
Rahmen
Vorderteil
200000001
9900001
372/70060
110-4E
110-4
Mähwerke
Zubehör
Handgeräte
Robin
Impressum
(C) by motoruf