Zurück zu
>
Roth / TORO
>
Aufsitzmäher
>
Traktor
>
270 H
>
506/72115
>
9900001
>
Batterie
Ersatzteillisten für Toro Roth / TORO Batterie
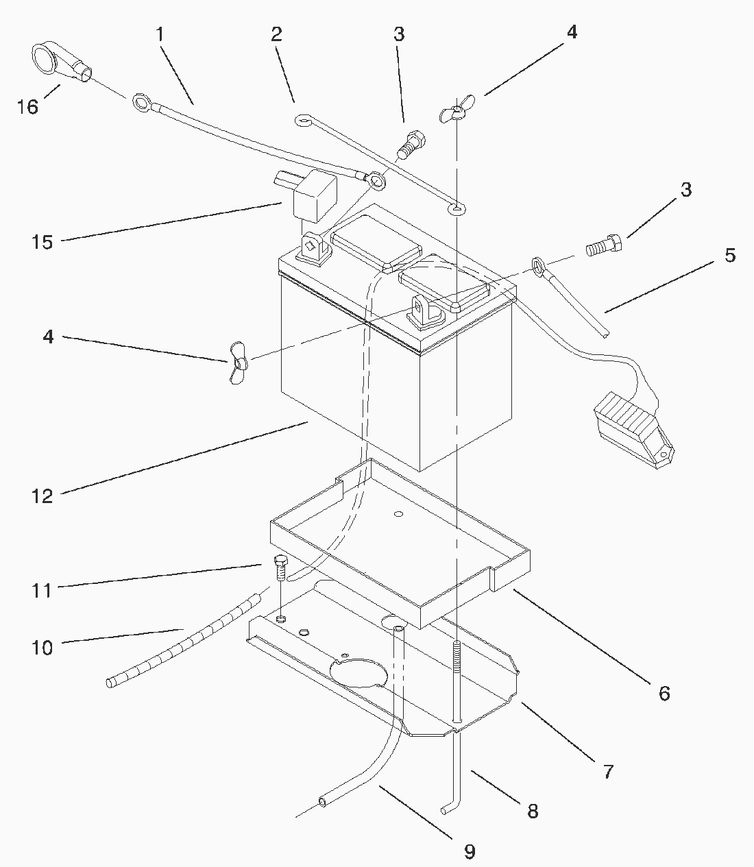
Pos.
Bezeichnung
Ersatzteilnummer
1
Batteriekabel
92-6989
2
Batteriehalterung
117316
3
Schraube
321-4
4
Fluegelmutter
32103-22
5
Kabel
93-0324
6
Batteriehalterung
106948
7
Batterie-Platte
78-6820-03
8
Hook
109547
9
Entluefterschlauch
114720
10
*** keine Bezeichnung vorhanden
99-8071
11
Schraube
32144-14
12
Battery
115877
15
Gummikappe
28-8080
16
Schutzkappe
93-3190
Gebrauchsanweisungen
Toro
Roth / TORO
Aufsitzmäher
Traktor
264-6
246 HE
244-5
212-H
212-5
17-44 HXLE
16-44 HXL
16-38 HXL
16-38 XLE
15-44 HXL
15-38 HXL
14-38 HXL
14-38 XL
13-38 HXL
13-38 XL
13-32 XLE
12-38 HXL
12-38 XL
12-32 XL
264 H
265 H
267 H
268 H
270 H
506/72110
506/72115
9900001
Haube & Grill
Hydraulik Antrieb
Vorderachse
Zweizylinder Motor, Auspuff & Zapfwelle
Batterie
Kraftstofftank & Hydrauliktank
untere Lenkung
Lenkrad mit Verstellung
Haubenhalter & Hitzeschutz
Aushubhebel & Höheneinstellung
Hydraulikbremse
Hydraulikbetätigungen
Rahmen
Hydraulik-Getriebeachse
Kotflügel & Fußauflage
Sitz
Armaturenbrett
Hinterrad
Tempomat Betätigung
Aushebung
Getriebeachs-Gehäuse
Mittleres Gehäuse
Pumpenwelle
Motorwelle
Wählhebel
Bypass
Dämpfer
Neutralzentrierung
Bremssicherung
Differentialgetriebe
Ritzel
Getriebewelle
Bremse
Kurbelwelle
Kurbelgehäuse
Ölwanne, Schmierung
Kopf, Ventil, Entlüftung
Zündung, Elektrik
Gebläsegehäuse & Leitbleche
Starteinrichtung
Kraftstoffsystem
Motor Betätigungen
Lufteinlaß, Filter
Auspuff
Pumpe
520 xi
520 Lxi
523 Dxi
Rider
Mähwerke
Zubehör
Handgeräte
Robin
Impressum
(C) by motoruf