Zurück zu
>
Roth / TORO
>
Aufsitzmäher
>
Rider
>
HMR 1600
>
307/55620
>
9000001
>
Antrieb Spindel Nr. 27-0870
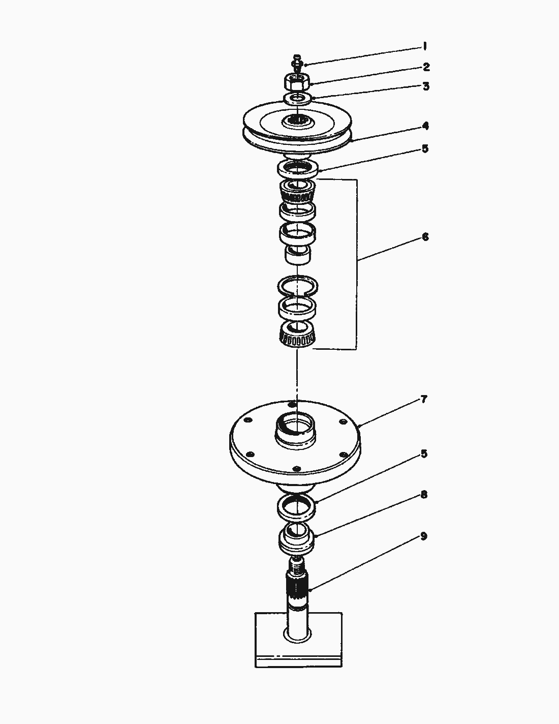
Ersatzteillisten für Toro Roth / TORO Antrieb Spindel Nr. 27-0870
Pos.
Bezeichnung
Ersatzteilnummer
1
Fettnippel
302-2
2
Mutter
32146-20
3
Washer
7-4150
4
Pulley & Hub
27-0970
5
Simmerring
253-139
6
Lager-Satz
46-8530
7
Messerwellengehaeuse
61-4160
8
Lagerbuechse
27-0950
9
Messerwelle
27-0920
Gebrauchsanweisungen
Toro
Roth / TORO
Aufsitzmäher
Traktor
Rider
HMR 1600
307/55620
9000001
Motor KOHLER (Modell MV16S-Typ 56511)
Motor KOHLER (Modell MV16S-Typ 56511)
Ausblas-Verkleidung Nr. 68-3590 (wahlw.)
Ausblas-Verkleidung Nr. 60-9030 (wahlw.)
Mulcheinsatz Modell-Nr. 30700 (wahlw.)
Mulcheinsatz Modell-Nr. 30752 (wahlw.)
Antrieb Spindel Nr. 54-7781
Antrieb Spindel Nr. 27-0870
52 Mähwerkgehäuse Modell-Nr. 55670 (wahlw.) 52 Cutting Deck Model No. 55670 (Optional) (Cont.)
52 Mähwerkgehäuse Modell-Nr. 55670 (wahlw.) 52 Cutting Deck Model No. 55670 (Optional)
44 Mähwerkgehäuse Modell-Nr. 55660 (wahlw.) 44 Cutting Deck Model No. 55660 (Optional) (Cont.)
44 Mähwerkgehäuse Modell-Nr. 55660 (wahlw.) 44 Cutting Deck Model No. 55660 (Optional)
Luxus Sitz Nr. 68-3800 (wahlw.)
Schnitthöhe
Sitz
Kraftstofftank
Kupplung Nr. 54-3200
Peerlesss Getriebe Modell-Nr. 700-029
Peerlesss Getriebe Modell-Nr. 700-030
Getriebe & Gestänge
Getriebe & Kupplung
Hinterer Reifen & Rad
Hinterrad & Achse
Vorderrad & Reifen
Vorderachse & Lenkung
Bremse & Kupplungspedal
Rahmen
Rahmen (Fortsetzung)
Rahmen
Lenksäule
12-32 E
12-32
11-32
10-32 E
8-25
110-4E
110-4
Mähwerke
Zubehör
Handgeräte
Robin
Impressum
(C) by motoruf