Zurück zu
Solo
>
Pflanzenschutzgeräte
>
Rückenspritzen
>
473P
>
ET 04/2004 Druck 9 425 748
>
Zubehör
Ersatzteillisten für Solo Pflanzenschutzgeräte Zubehör
Ersatzteilliste 1
Ersatzteilliste 2
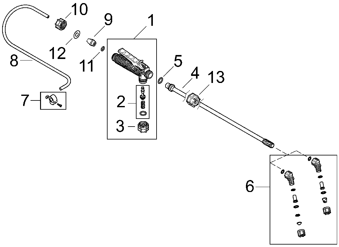
Pos.
Bezeichnung
Ersatzteilnummer
13
Düsensatz enth.: Winkelstück, Überwurfmutter, 2 x O-Ringe 10 mm, 1 x O-Ringe 12 mm, Filtereinsatz: - 3 Flachstrahdüsen, - 3
4900448
Pos.
Bezeichnung
Ersatzteilnummer
1
SPRITZROHR500 M.DUESE SKI.
4900439
2
Verlängerung Spritzrohr PVC, 50 cm
4900513
3
Biegbare Spritz-rohrverlängerung 15 cm
4900450
4
Baumspritzrohr Messing, 2-teilig, 150 cm
4900528
5
Spritzrohr Messing 75 cm
4900428
6
Spritzrohr Messing 50 cm
4900519
7
Teleskop-Spritzrohr Messing, 57 cm - 100 cm
4900478
8
Spritzrohr Carbon 120 cm
4900449
9
Teleskop-Spritzrohr Carbon 120 cm -230 cm
4900445
10
Gabeldüse
4900477
11
DUESE HOCHSTRAHL.1,5 MS VS.SKI
4900206
12
Hochstrahldüse Kunststoff
4900525
14
Spritzbalken 60 cm PVC, 2 Düsen
4900514
15
Spritzbalken 120 cm Alu, 4 Düsen
4900299
16
Befestigungszusatz
4900517
17
Kugelventilfilter, Tropfstopp
4900516
18
SPRITZSCHIRM120X300X110OVAL VS
4900430
19
Kleiner Spritzschirm
4900128
20
MANOMETER+SCHUTZ SET SKI.
4900356
21
DIC.SET 425/435 SKI.
4900442
21
DIC.SET 475/485 SKI.
4900443
Gebrauchsanweisungen
Solo
Pflanzenschutzgeräte
Druckspritzen
Rückenspritzen
425
435
475
485
473P
ET 04/2004 Druck 9 425 748
Behälter, Tragegurt
Kolbenpumpe
Spritzrohr, Handventil, Düse
Zubehör
Druckvorlage (PDF-456 KB)
473D
Motor Rückenspritzen
Sprühgeräte
Fahrbare Sprühgeräte
Granulat-Streuer
Motorsägen
Motorsensen
Motorhacken
Balkenmäher
Vertikutierer
Rasenmäher
Blasgeräte
Multimot
Impressum
(C) by motoruf