Zurück zu
Solo
>
Rasenmäher
>
Aufsitzmäher / Rasentraktoren
>
572 / 572 Hydro
>
570 PM
>
BREMSE UND WECHSEL ANTRIEB
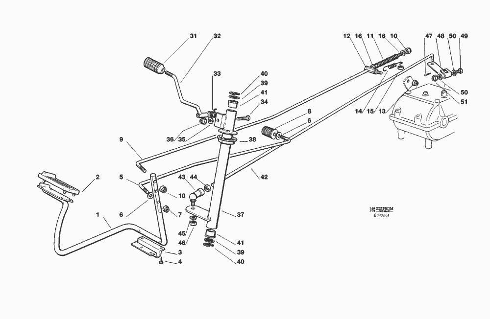
Ersatzteillisten für Solo Rasenmäher BREMSE UND WECHSEL ANTRIEB
Pos.
Bezeichnung
Ersatzteilnummer
1
BREMSPEDAL
82500001/0
2
BRIDEDECKEL
25110269/0
3
PLATTE
25547012/1
4
SCHRAUBE
12731601/0
5
STANGE
25033005/0
6
SCHEIBE
12523060/0
7
MUTTER
12155000/0
8
KNOPF
25394500/1
9
BREMSE KONTROLLESATZ
25033007/0
10
MUTTER
12154510/0
11
FEDER
25430212/1
12
BOLZEN
25510017/0
13
MUTTER
12155000/0
14
FEDER
25430213/0
15
MUTTER
12155000/0
16
SCHEIBE
12521330/0
31
WECHSELGETRIEBE
25394505/1
32
DEGETRIEBE HEBEL
82318130/0
33
FEDER
25430225/0
34
SCHRAUBE
12689515/0
35
SCHEIBE
12521330/0
36
MUTTER
12154510/0
37
GAENGESCHALTUNG ROHR
82869005/0
38
BÜCHSE
25040602/0
39
SCHEIBE
25670006/0
40
SPRENGRING
12001000/0
41
BÜCHSE
25040601/0
42
STANGE
25033004/0
43
GELENK
22746601/0
44
MUTTER
12293200/0
45
GROWER
12583500/0
46
MUTTER
12293200/0
47
SPLIT
12141418/0
48
GETRIEBE HEBEL
25318117/0
49
SCHRAUBE
12689500/0
50
SCHEIBE
12521330/0
51
MUTTER
12154510/0
Gebrauchsanweisungen
Solo
Pflanzenschutzgeräte
Motorsägen
Motorsensen
Motorhacken
Balkenmäher
Vertikutierer
Rasenmäher
Aufsitzmäher / Rasentraktoren
576 / 576 Hydro
575 / 575 Hydro
572 / 572 Hydro
2004
2003
2002
2001
2000
1999
570 PM
ELEKTRONISCHE KARTE MIT BUZZER
ELEKTRONISCHE KARTE MIT BUZZER
KLEBZETTEL
ELEKTRONISCHE KARTE MIT BUZZER
VORRICHTUNG FÜR AUSWURFSCHUTZ
AUFFANGSACK
ELEKTRISCHETEILE
SCHNEIDWERKZEUG (2)
SCHNEIDWERKZEUG (1)
GETRIEBE
SCHNEIDWERKZEUG AUFHEBESATZ
MOTOR
MOTOR
MOTOR
MOTOR
MOTOR
BREMSE UND WECHSEL ANTRIEB
LENKGETRIEBE
KONSOLE UND SITZ
KARROSSERIE UND GEHÄUSE
570 / 570 Hydro
562 Hydro
560 / 560 Hydro
557
556
555 / 555 Hydro
Benzin-Antriebs-Mäher
Benzin-Schiebe-Mäher
Elektro Rasenmäher
Blasgeräte
Multimot
Impressum
(C) by motoruf