Zurück zu
AS-Motor
>
Samix Gartenhäcksler
>
Super S-B7/2 + S-E4.7/2
>
Schnitzelmesser S-B7/2
Ersatzteillisten für AS Motor Samix Gartenhäcksler Schnitzelmesser S-B7/2
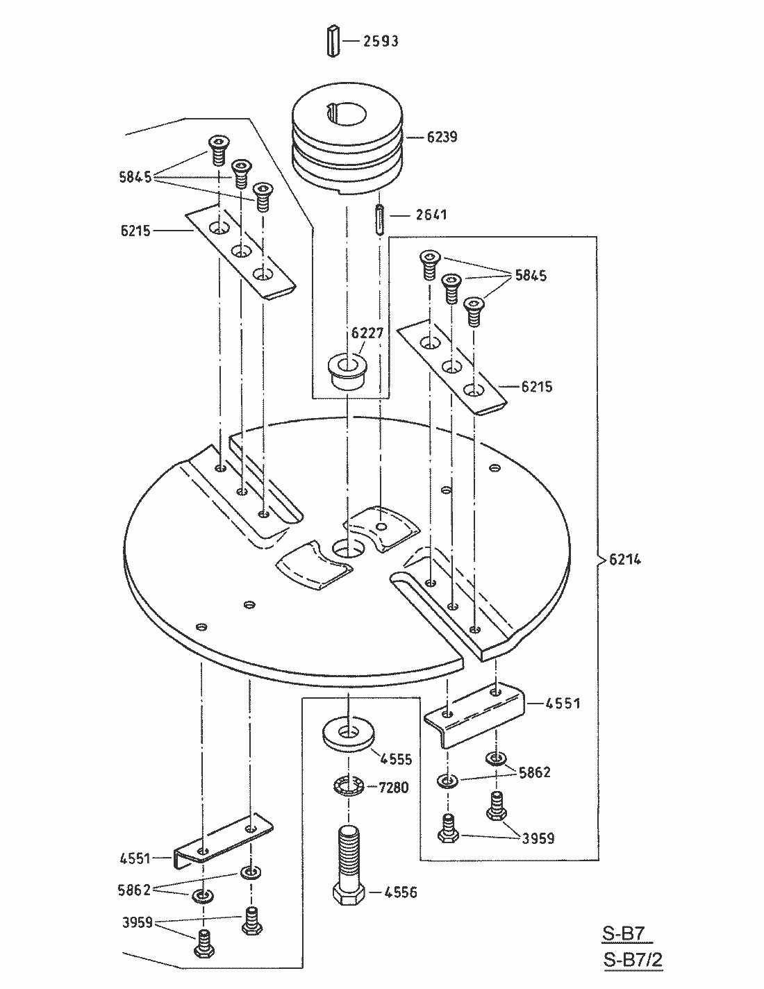
Pos.
Bezeichnung
Ersatzteilnummer
2593
PASSFEDER
E02593
2641
SPANNHÜLSE
E02641
3959
Sechskantschraube
E03959
4551
WINDFLÜGEL
E04551
4555
SCHEIBE
E04555
4556
SECHSKANTSCHRAUBE
E04556
5845
Senkschraube mit Sternantrieb
E05845
5862
SPERRKANTSCHEIBE
E05862
6214
MESSERTRÄGERSCHEIBE VOLLST.
E06214
6215
SCHNITZELMESSER
E06215
6227
DISTANZHÜLSE 13 LG.
E06227
6239
RIEMENSCHEIBE
E06239
7280
SCHR.SICHERUNGSSCHEIBE F. M12
E07280
Gebrauchsanweisungen
AS Motor
AS Batterierasenmäher
AS 45 Ausputzmäher
AS 46 Variomat
AS 45 Universal
AS 53 Standard
AS 53 Allrad
AS 55 Heckauswurf
AS 550 Heckauswurf
AS Allmäher
AS Enduro
AS Schlegelmäher
AS Mulchmeister
AS Aufsitzmäher
Samix Gartenhäcksler
Junior S-E 1.9
Junior S-E 2.0/2.6
Junior S-E 2.0/2 + S-E 2.6/2
Rapido S-E 2.4/2.5
Rapido S-E2.4/2+S-E2.5/2
Rapido S-B/4T
Rapido S-B4T/2
Super S-E3/E4/B6
Super S-E 3/2
Super S-E 3.7/2
Super SB 7/SE4.7
Super S-B7/2 + S-E4.7/2
Gehäuse
Häckselmesser
Schnitzelmesser S-E4.7/2
Schnitzelmesser S-B7/2
Antriebsblock
Grundmotor
Starter
Vergaser
AS Wildkraut-Hex
Verschleissteile
Impressum
(C) by motoruf