Zurück zu
AS-Motor
>
AS Enduro
>
AS 65 2T Enduro
>
Grundmotor
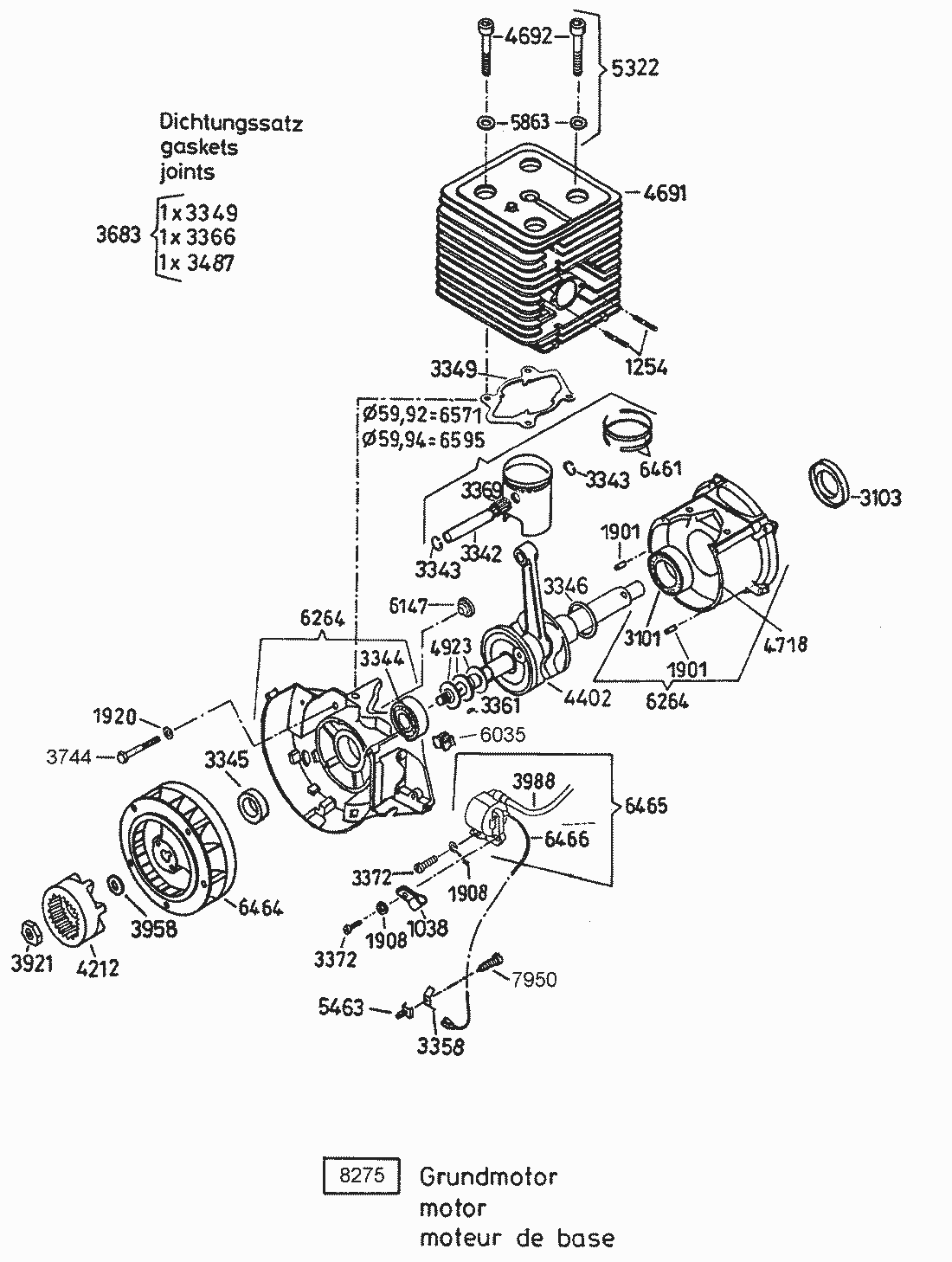
Ersatzteillisten für AS Motor AS Enduro Grundmotor
Pos.
Bezeichnung
Ersatzteilnummer
1254
STIFTSCHRAUBE
E01254
1901
ZYLINDERSTIFT
E01901
1908
FEDERRING
E01908
1920
FEDERSCHEIBE
E01920
3101
RILLENKUGELLAGER
E03101
3103
WELLENDICHTRING
E03103
3342
KOLBENBOLZEN
E03342
3343
SICHERUNGSRING
E03343
3344
RILLENKUGELLAGER
E03344
3345
WELLENDICHTRING
E03345
3346
PASSSCHEIBE
E03346
3349
ZYLINDERFFUßDICHTUNG
E03349
3358
FLACHSTECKER
E03358
3361
SCHEIBENFEDER
E03361
3366
AUSPUFFDICHTUNG
E03366
3369
NADELKÄFIG
E03369
3372
ZYLINDERSCHRAUBE
E03372
3487
ISOLIERPLATTE
E03487
3683
DICHTUNGSSATZ 6 PS MOTOR
E03683
3744
SECHSKANTSCHRAUBE
E03744
3921
SECHSKANTMUTTER
E03921
3958
TELLERFEDER
E03958
3988
ZÜNDLEITUNG
E03988
4212
MITNEHMER
E04212
4402
KURBELWELLE VOLLST.
E04402
4691
ZYLINDER D. 60.00
E04691
4692
ZYL.SCHR. M.INNENSECHSKANT
E04692
4718
LOCTITE 572 (5OML)
E04718
4923
PAßSCHEIBE
E04923
5322
BEFESTIGUNGST.F.ZYLIN.(6-PS)
E05322
5463
ISOLIERSTÜCK
E05463
5863
SPERRKANTSCHEIBE
E05863
6035
KRALLENBEFESTIGER
E06035
6147
KAROSSERIESTOPFEN
E06147
6264
KURBELGEHÄ.M.LAGER UND ZAPFEN
E06264
6461
HALB-TR.RI.+RECHTECKRI.(59.92
E06461
6464
LÜFTERRAD M.DECKBLECH VOLLST.
E06464
6465
ZÜNDANKER
E06465
6466
KURZSCHLIEßKABEL
E06466
6571
KOLBEN D.59.92 M.NADELK+HTRING
E06571
6595
KOLBEN D.59.94 M.NADELK+HTRING
E06595
7950
LINSENBLECHSCHRAUBE
E07950
8275
Grundmotor AS165o (AS 65/2T)
E08275
Gebrauchsanweisungen
AS Motor
AS Batterierasenmäher
AS 45 Ausputzmäher
AS 46 Variomat
AS 45 Universal
AS 53 Standard
AS 53 Allrad
AS 55 Heckauswurf
AS 550 Heckauswurf
AS Allmäher
AS Enduro
AS 22 Enduro
AS 22/3 Enduro
AS 27/2 Enduro
AS 27/3 Enduro
AS 28 Enduro
AS 28/3 Enduro
AS 28/4 Enduro
AS 65 2T Enduro
Fahrwerk Abb.1
Fahrwerk Abb.2 bisFNR.14903404026
Fahrwerk Abb.2 abFNR.14903404027
Messerhaube
Antriebsblock
Spannrollenträger vollst.
Luftansaugschlauch vollst.
Kupplung vollst.
Hebel vollst.
Riemenscheibe Getriebe vollst.
Kraftstofftank vollst.m.Deckel
Radnabe vollst.
Lenkerspannhebel vollst.
Lenker AS65/2T vollst.bisFNR.14903404035
Lenker AS65/2T vollst.ab FNR.14903404036
Riemenspanner vollst.
Auswurfblech vollst.
Bremshebel vollst.
Riemenscheibe AS65 vollst.
Radholm vollst.bis FNR.14903404060
Radholm vollst.ab FNR.14903404061
Messerlagerung m.Messer AS65/2T bisFNR.14903202999
Messerlagerung m.Messer AS65/2T abFNr.14903303001
Grundmotor
Starter
Vergaser
AS 65 4T Enduro
AS 65 4TH Enduro
AS 73 vs Enduro
AS 73/2 vs Enduro
AS Schlegelmäher
AS Mulchmeister
AS Aufsitzmäher
Samix Gartenhäcksler
AS Wildkraut-Hex
Verschleissteile
Impressum
(C) by motoruf